HostKVM是专业经营VPS云服务器的主机商,有欧洲、亚洲、美国多个机房可以选择,价格非常的便宜,但是网络很稳定,性价比很高,在国内有非常多的用户,深受好评。这里我们将测评下HostKVM的德国VPS,看看网络效果怎么样。
文章来源:https://www.zjcp.cc/ask/6304.html文章源自主机测评网-https://www.zjcp.cc/51303.html
HostKVM的德国VPS机房位于法兰克福,提供了100Mbps带宽,最低配置1核、2GB内存、40GB存储、500GB流量,价格是7美元/月,支持Linux和Windows操作系统,可以使用支付宝付款。下面我们就看看具体的网络状况。文章源自主机测评网-https://www.zjcp.cc/51303.html
文章源自主机测评网-https://www.zjcp.cc/51303.html
先看看本地Ping平均延迟效果,如下所示:文章源自主机测评网-https://www.zjcp.cc/51303.html
文章源自主机测评网-https://www.zjcp.cc/51303.html
我本地Ping平均延迟在204ms左右,网络还是非常稳定的,基本都没有丢包的情况。文章源自主机测评网-https://www.zjcp.cc/51303.html
下面我们看看全国三网Ping平均延迟效果,如下所示:文章源自主机测评网-https://www.zjcp.cc/51303.html
文章源自主机测评网-https://www.zjcp.cc/51303.html
全国三网Ping平均延迟在206ms左右,其中电信网络延迟在191ms左右,联通网络延迟在188ms左右,移动网络延迟在241ms左右。文章源自主机测评网-https://www.zjcp.cc/51303.html
接下来我们看看全球各地网络稳定情况,如下所示:文章源自主机测评网-https://www.zjcp.cc/51303.html
从测试情况来看,不管是国内节点还是海外节点网络都是非常稳定的,基本都没有丢包的情况。
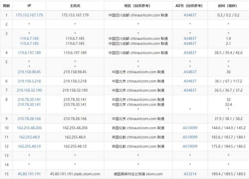
下面我们看看全国三网去程路由线路情况。
电信去程路由:
电信去程路由是从北京网口出去,经过伦敦、阿姆斯特丹节点后到达法兰克福机房。
联通去程路由:
联通去程路由是从北京网口出去,经过伦敦节点后到达法兰克福机房。
移动去程路由:
移动去程路由是从上海网口出去,然后直连法兰克福机房。
下面我们看看HostKVM这款德国VPS的速度怎么样,如下所示:
本地下载速度在44Mbps左右,上传速度在38Mbps左右,对于德国VPS来说还是相当不错的。
接下来我们看看这款德国VPS的价格套餐怎么样,如下所示:
| 参数项 | 套餐1 | 套餐2 | 套餐3 | 套餐4 |
|---|---|---|---|---|
| 内存 | 2GB | 4GB | 4GB | 8GB |
| CPU核数 | 1 | 2 | 2 | 4 |
| 存储空间 | 40G | 40G | 60G | 100G |
| 带宽 | 100Mbps | 100Mbps | 100Mbps | 100Mbps |
| 流量 | 500GB | 1000GB | 1500GB | 3000GB |
| 价格 | 7美元/月 | 8美元/月 | 15美元/月 | 35美元/月 |
| 购买链接 | 立即购买 | 立即购买 | 立即购买 | 立即购买 |
从上面的价格套餐来看还是相当便宜的,而且性价比很高,支持Linux和Windows操作系统,能够满足多种用户需求。
需要购买的用户可以通过HostKVM官网进入首页,选择“VPS主机”菜单下的“欧洲BGP”链接,如下所示:
然后根据自己的选择合适的套餐就可以了。
以上就是关于HostKVM的德国VPS测评介绍,从网络方面来看这款德国VPS网络还是非常稳定的,并且价格很便宜,有需要德国VPS的用户可以参考选购。


















