莱卡云香港家宽VPS怎么样,双ISP原生住宅IP的测评如何?

文章导读
莱卡云是一家专业经营云服务器的主机商,拥有欧美亚三大洲多个机房可以选择,其特点是网络非常的稳定,并且价格很便宜,受到广大用户的欢迎。现在莱卡云又推出了双ISP类型的香港家宽VPS,适合跨境电商外贸等用途,资源非常的稀缺,有需要可以关注下。
📋 目录
  1. 总结
A A

莱卡云是一家专业经营云服务器的主机商,拥有欧美亚三大洲多个机房可以选择,其特点是网络非常的稳定,并且价格很便宜,受到广大用户的欢迎。现在莱卡云又推出了双ISP类型的香港家宽VPS,适合跨境电商外贸等用途,资源非常的稀缺,有需要可以关注下。

莱卡云的香港家宽VPS拥有双ISP类型原生住宅IP,配备了200Mbps带宽,最低配置2核、2GB内存、1000GB流量,价格是168元/月,可以使用支付宝付款,支持安装多个版本Linux和Windows操作系统。

莱卡云:香港家宽VPS测评-双ISP原生住宅IP

接下来我们从IP属性、延迟、稳定性、速度多个方面测试下莱卡云的香港家宽VPS,看看网络效果怎么样。

首先测试下IP的Company和ASN类型。

先看看IP的Company类型:

莱卡云香港家宽VPS网络测试-IP的Company类型

然后看看IP的ASN类型:

莱卡云香港家宽VPS网络测试-IP的ASN类型

测试结果表明Company和ASN都是ISP类型,所以确实是双ISP类型的。

接着看看IP属性,测试结果如下所示:

莱卡云香港家宽VPS网络测试-IP属性

可以看到IP是家庭带宽类型,并且纯净度非常的高。

测试下三网去程路由和回程路由线路情况:

电信去程路由:

莱卡云香港家宽VPS网络测试-电信去程路由

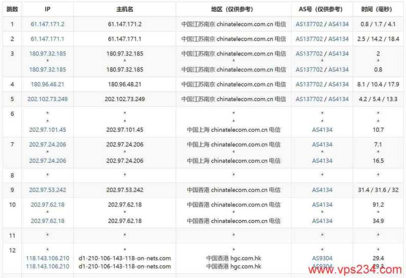
电信去程路由是从上海网口出去,然后直连香港机房,走的是电信骨干网。

联通去程路由:

莱卡云香港家宽VPS网络测试-联通去程路由

联通去程路由是从广州网口出去,然后直连香港机房,走的是AS4837线路。

移动去程路由:

莱卡云香港家宽VPS网络测试-移动去程路由

移动去程路由是从北京网口出去,绕道了美国洛杉矶、日本千叶节点后到达香港机房,走的是CMI骨干网。

接下来我们再看看三网回程路由线路情况。

电信回程路由:

莱卡云香港家宽VPS网络测试-电信回程路由

联通回程路由:

莱卡云香港家宽VPS网络测试-联通回程路由

移动回程路由:

莱卡云香港家宽VPS网络测试-移动回程路由

三网回程路由都是直连回到国内网口的,没有绕道的情况。

下面测试下服务器性能和速度,结果如下所示:

莱卡云香港家宽VPS网络测试-性能和速度

英特尔 Xeon Gold 6138 @ 2.00GHz 处理器,磁盘I/O在655MB/秒,上传速度跑到了187Mbps,下载速度跑满了190Mbps,可见性能和速度都还是不错的。

需要购买的用户通过莱卡云优惠链接进入首页,点击【产品服务】菜单下的【中国.香港双ISP】链接,如下所示:

莱卡云香港家宽VPS购买教程-首页入口

进入到香港家宽VPS产品页面,目前只有一个套餐,点击【前往选购】按钮:

莱卡云香港家宽VPS购买教程-套餐选择

然后根据自己的需要选择适合自己的配置下单付款就可以了。

总结

以上就是关于莱卡云的香港家宽VPS测评介绍,总体来说网络还是不错的,当然其最主要的特点还是提供了双ISP类型的原生住宅IP,这种家宽类型的香港VPS资源是非常少见的,所以价格比一般香港VPS要高一些。

我们也测评过其他类型的香港家宽VPS,有需要可以参考:

  • edgeNAT:香港家宽VPS测评-双ISP原生住宅IP
  • HKCOREX:香港VPS测评-双ISP原生家宽IP-配置高