zlidc越南VPS怎么样,双ISP类型原生住宅IP无限流量值得入手吗?

文章导读
zlidc主要是经营云服务器和独立服务器的主机商,有全球多个机房可以选择。这里我们将测评下zlidc的越南VPS,看看网络效果怎么样。
📋 目录
  1. 总结
A A

zlidc主要是经营云服务器和独立服务器的主机商,有全球多个机房可以选择。这里我们将测评下zlidc的越南VPS,看看网络效果怎么样。

zlidc的越南VPS机房位于河内,提供100~200Mbps带宽,提供了单ISP和双ISP两种类型,最低配置1核、1GB内存、20GB存储、100Mbps带宽、无限流量,价格是10美元/月,默认是单ISP类型IP,要双ISP类型需要加5美元/月,支持支付宝付款,4GB及其以上配置可以安装Windows系统。接下来我们就测评下zlidc这款越南VPS的网络状况。

zlidc:越南VPS测评-双ISP类型原生住宅IP-无限流量

先看看IP属性,测试结果如下:

zlidc越南VPS测评-IP属性

可以看到IP属性是住宅家宽类型,而且非常的纯净。

看看我本地Ping平均延迟效果:

zlidc越南VPS测评-本地Ping延迟测试

本地Ping平均延迟在386ms,延迟不低,我本地网络还算稳定,丢包情况较少。

下面看看全国三网Ping平均延迟效果:

zlidc越南VPS测评-全国三网Ping延迟测试

全国三网Ping平均延迟在185ms,其中电信网络延迟在293ms,联通网络延迟在136ms,移动网络延迟在114ms。由此可见联通和移动网络延迟要比电信网络低很多。

下面我们看看全球各地网络稳定性情况:

zlidc越南VPS测评-稳定性

全球各地网络稳定性不是特别的好,大部分节点丢包不算严重,只是偶尔丢包,而部分节点网络就不太理想,当然还是要看自己的网络状况。

接下来看看电信、联通、移动三网去程路由线路情况。

电信去程路由:

zlidc越南VPS测评-电信去程路由

电信去程路由是从广州网口出去,经过美国、日本、香港各节点后达到河内机房。

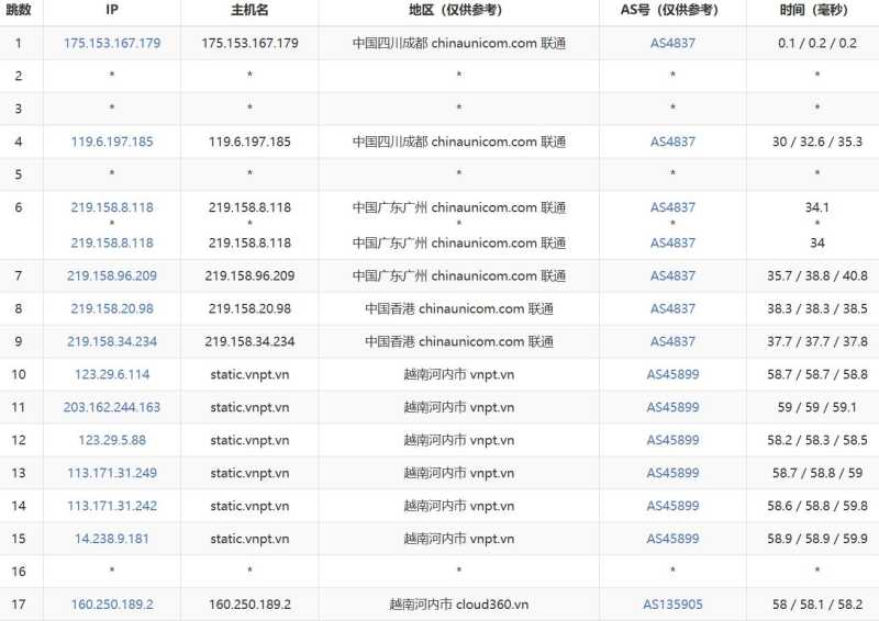
联通去程路由:

zlidc越南VPS测评-联通去程路由

联通去程路由是从广州网口出去,经过香港节点后到达河内机房,走的是AS4837线路。

移动去程路由:

zlidc越南VPS测评-移动去程路由

移动网络去程路由是从广州网口出去,和联通网络一样经过香港节点后到达越南河内机房,走都是移动CMI骨干网。

所以综合来看联通和移动网络线路要比电信网络要好,所以延迟会更低一些。

下面是zlidc的越南VPS的价格套餐,具体如下所示:

参数项 套餐1 套餐2 套餐3 套餐4
内存 1GB 2GB 4GB 8GB
CPU核数 1 2 4 6
存储空间 20G 20G 60G 100G
带宽 100Mbps 100Mbps 100Mbps 200Mbps
操作系统 Linux/ Linux/ Linux/Windows Linux/Windows
价格 10美元/月 20美元/月 30美元/月 80美元/月
购买链接 立即购买 立即购买 立即购买 立即购买

从价格来看性价比还是不错的,这里只列举了几个最基础的套餐,更多可以到官网查看。

有需要购买的用户通过zlidc优惠链接进入首页,点击【云服务器】菜单下的【越南云服务器】链接:

zlidc越南VPS购买教程-入口

然后选择适合自己的价格套餐,点击【立即购买】按钮:

zlidc越南VPS购买教程-套餐选择

选择适合自己的操作系统,注意默认是单ISP类型IP,但可以选择双ISP类型IP,不过需要额外加5美元。

zlidc越南VPS购买教程-配置选择

按照提示一步步注册用户下单就可以了。

总结

以上就是关于zlidc的越南VPS测评介绍,主要特点就是拥有双ISP类型的原生住宅IP,不过就是国内访问不是直连线路的,延迟稍微有点高,但是联通和移动网络线路还算是可以的。有需要越南家宽VPS的用户可以参考教程选购。

其他类型的越南VPS可以参考如下所示:

  • DataOnline:越南VPS - 河内机房 - 无限流量
  • CloudFly:越南VPS测评-河内机房
  • TotHost:越南VPS测评 - ISP类型IP
  • HostingViet越南VPS介绍 - 无限流量