FormoHost马来西亚VPS雪兰莪机房怎么样,测评介绍值得看吗?

文章导读
FormoHost是德国公司经营的主机商,提供了全球几大洲几十个机房可以选择。这里我们就测评下FormoHost的马来西亚VPS,看看是否适合国内用户访问使用。
A A

FormoHost是德国公司经营的主机商,提供了全球几大洲几十个机房可以选择。这里我们就测评下FormoHost的马来西亚VPS,看看是否适合国内用户访问使用。

FormoHost的马来西亚VPS机房位于雪兰莪,提供了100Mbps带宽,最低配置1核、1GB内存、40GB存储、2TB流量,价格是18.69美元/月,使用PayPal和信用卡付款。下面就看看这款马来西亚VPS的网络状况。

FormoHost:马来西亚VPS测评介绍 - 雪兰莪机房

先看看我本地Ping平均延迟效果,如下所示:

FormoHost马来西亚VPS测评 - 本地Ping平均延迟测试

我本地电信网络Ping平均延迟在147ms左右,延迟是比较正常的,但是网络不稳定,丢包很严重。

我们看看全国三网Ping平均延迟效果:

FormoHost马来西亚VPS测评 - 全国三网Ping平均延迟测试

全国三网Ping平均延迟在196ms,其中电信网络延迟在145ms,联通网络延迟在213ms,移动网络延迟在210ms。

我们看看全球各地网络稳定性情况:

FormoHost马来西亚VPS测评 - 全球网络稳定性测试

从测试情况来看海外节点网络还是比较稳定的丢包情况比较少,而国内节点丢包就比较严重了,网络非常的不稳定。

接下来我们看看电信、联通、移动三网去程路由线路情况。

电信去程路由:

FormoHost马来西亚VPS测评 - 电信去程路由

电信去程路由是从广州网口出去,经过新加坡节点后到达马来西亚机房。

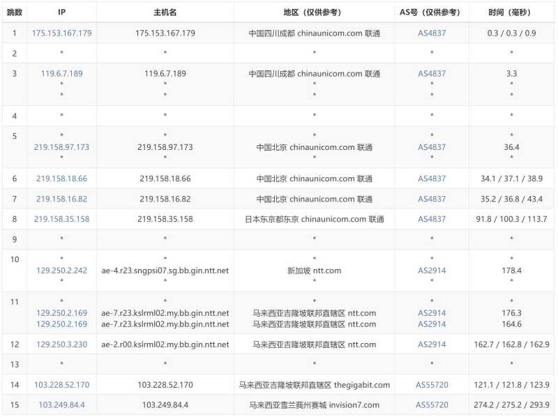
联通去程路由:

FormoHost马来西亚VPS测评 - 电信去程路由

联通去程路由是从北京网口出去,经过日本、新加坡节点后到达马来西亚机房。

移动去程路由:

FormoHost马来西亚VPS测评 - 电信去程路由

移动去程路由是从上海网口出去,经过香港节点后到达雪兰莪机房。

下面看看FormoHost的这款马来西亚VPS的价格套餐,如下所示:

参数项 套餐1 套餐2 套餐3 套餐4
内存 1GB 2GB 4GB 8GB
CPU核数 1 2 4 8
存储空间 40G 60G 100G 200G
带宽 100Mbps 100Mbps 100Mbps 100Mbps
流量 2 TB 3 TB 4 TB 8 TB
价格 18.69美元/月 28.69美元/月 47.76美元/月 87.89美元/月
购买链接 立即购买 立即购买 立即购买 立即购买

从价格套餐来看这款马来西亚VPS不算便宜的,而且不支持支付宝付款,购买也不太方便。

以上就是关于FormoHost的马来西亚VPS测评介绍,从网络方面来看这款马来西亚VPS不太稳定,而且价格很昂贵,不适合大陆地区用户访问使用。需要更好的可以参考马来西亚VPS推荐汇总,有CN2线路、原生IP等多种特性支持,并且可以使用支付宝付款,价格要便宜很多。