edgeNAT韩国VPS怎么样?SK线路延迟很低吗?

文章导读
edgeNAT是成立于2019年的主机商,经营云服务器和独立服务器,有香港、韩国、美国3个机房可以选择。其中韩国VPS是他们家的特色,所以我们就详细测评下。
A A

edgeNAT是成立于2019年的主机商,经营云服务器和独立服务器,有香港、韩国、美国3个机房可以选择。其中韩国VPS是他们家的特色,所以我们就详细测评下。

edgeNAT的韩国VPS机房位于首尔,属于LG机房SK线路,最低配置2核、2GB内存、10Mbps带宽、无限流量,价格是60元/月,支持Linux和Windows操作系统,可以使用支付宝付款,购买也算比较方便。接下来哦我们就测评下这款韩国VPS具体的网络效果怎么样。

edgeNAT官网:https://www.edgenat.com/

edgeNAT:韩国VPS测评 -SK线路/延迟很低

先看看本地网络Ping延迟情况,如下所示:

edgeNAT韩国VPS测评 - 本地Ping平均延迟测试

本地Ping平均延迟在59ms,这个延迟对于韩国VPS来说表现相当不错了,因为一般韩国机房国内访问延迟都在100ms以上,而且网络很稳定基本都没有丢包情况。

接下来我们看看全国三网Ping平均延迟效果,如下所示:

edgeNAT韩国VPS测评 - 全国三网Ping平均延迟测试

全国三网Ping平均延迟在74ms,其中电信网络延迟在54ms,联通网络延迟在61ms,移动网络延迟在108ms,电信和联通网络延迟是很低的,而移动网络延迟要高点,但是都是在正常范围。

接下来我们看看全球各地网络稳定性情况,如下所示:

edgeNAT韩国VPS测评 - 全球网络稳定性测试

我们通过工具测评了上百个节点的网络稳定性情况,从测试效果来看,不管是国内节点还是海外节点网络都是非常稳定的,基本都没有丢包的情况。

接下来我们看看三网去程路由线路情况。

电信去程路由:

edgeNAT韩国VPS测评 - 电信去程路由

电信去程路由是从上海网口出去,然后直连首尔机房。

联通去程路由:

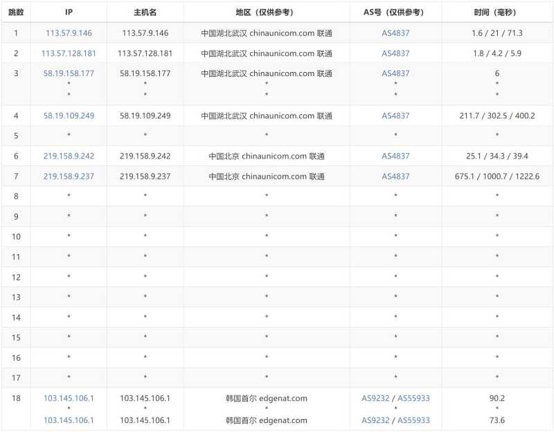
edgeNAT韩国VPS测评 - 联通去程路由

联通去程路由是从北京网口出去,然后直连首尔机房。

移动去程路由:

edgeNAT韩国VPS测评 - 移动去程路由

移动去程路由是从广州网口出去,经过东京节点后到达首尔机房。

下面看看edgeNAT这款韩国VPS的价格套餐,如下所示:

参数项 套餐1 套餐2 套餐3 套餐4
内存 2GB 4GB 4GB 8GB
CPU核数 2 2 4 4
存储空间 20G 40G 50G 50G
带宽 10Mbps 10Mbps 20Mbps 20Mbps
流量 不限 不限 不限 不限
系统支持 Linux Linux/Windows Linux/Windows Linux/Windows
价格 60元/月 80元/月 100元/月 150元/月
购买链接 立即购买 立即购买 立即购买 立即购买

从套餐价格表来看性价比是相当不错的,配置很高,除了2GB内存套餐只支持安装Linux操作系统外,其余都支持Linux和Windows操作系统,能够需要远程桌面的用户来说也非常合适。

需要购买的用户可以通过edgeNAT优惠链接进入后,选择【云服务器】菜单下的“韩国 SK”链接,如下所示:

edgeNAT韩国VPS - 购买教程

然后根据需要选择适合自己的套餐就可以了,后面按照提示填写相应的配置下单付款购买就可以了。

我们从延迟、稳定性、路由线路多个方面测评了edgeNAT的这款韩国VPS,整体来说还是相当不错的;从价格方面来说也是相当不错的,配置很高能够满足多种用户需求,有需要可以参考选购。