恒创主机日本服务器有哪些推荐的?CN2优化线路怎么样?

文章导读
日本服务器还是比较少见的,拥有稳定优化线路的还是比较少见,而且很多价格比较贵,所以很多用户不知道如何选择。现在恒创主机推出了CN2优化线路的日本服务器,我们看看网络效果怎么样。
A A

日本服务器还是比较少见的,拥有稳定优化线路的还是比较少见,而且很多价格比较贵,所以很多用户不知道如何选择。现在恒创主机推出了CN2优化线路的日本服务器,我们看看网络效果怎么样。

恒创主机的日本服务器机房位于东京,提供了20Mbps带宽,拥有无限流量,最低配置E5 2650 处理器、8G内存、240GB存储、3个IP,最低价格840元/月,支持支付宝付款。下面我们看看具体的网络状况怎么样。

恒创主机:日本服务器推荐 - CN2优化线路

先看看本地Ping平均延迟:

本地Ping平均延迟测试

本地Ping平均延迟在67ms,这个延迟对于日本VPS来说是相当不错的了,而且网络很稳定,基本都没有丢包。

我们再看看全国三网Ping平均延迟效果:

全国三网Ping平均延迟测试

全国三网Ping平均延迟在83ms左右,其中电信网络延迟在76ms,联通网络延迟在81ms,移动网络延迟在93ms。

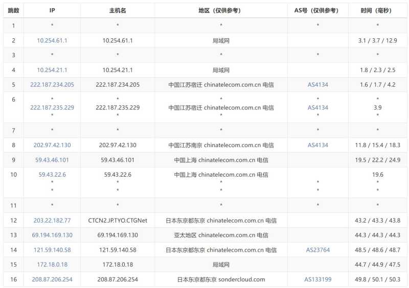
我们再看看三网去程路线路情况。

电信去程路由:

电信去程路由

电信去程路由是从上海网口出去,然后直连东京机房,走的是59.43的CN2优化线路。

联通去程路由:

联通去程路由

联通去程路由是从广州网口出去,通过香港、新加坡节点后到达东京机房。

移动去程路由:

移动去程路由

移动去程路由是从上海网口出去,经过香港节点后到达东京机房。

下面看看恒创主机这款日本服务器的价格套餐:

参数项 套餐1 套餐2 套餐3 套餐4
内存 8G 16G 32G 32G
CPU E5 2650 E5 2650 E5 2650*2 E5 2650
存储空间 240G 240G 240G 240G
带宽 20Mbps 20Mbps 20Mbps 20Mbps
流量 无限 无限 无限 无限
价格 840元/月 910元/月 1330元/月 1050元/月
购买链接 立即购买 立即购买 立即购买 立即购买

可以看到价格还是相当便宜的,而且配置不错,性价比相当的可以,支持Linux和Windows操作系统。

需要的用户通过恒创主机官网链接进入首页,选择“产品中心”菜单下的“日本服务器”,如下所示:

购买教程

然后根据需要选择适合自己的套餐。

以上就是关于恒创主机日本服务器测评介绍,从网络方面来说还是相当不错的,拥有CN2优化线路,国内访问延迟低、速度快,而且价格非常的便宜,有需要日本服务器的用户可以参考选购。