遨游主机香港高防VPS怎么样?50G高防稳定可靠吗,值得入手?

文章导读
遨游主机我们多次对其进行了测试,这是一家专业经营云服务器和独立服务器的主机商,有多个机房多种线路可以选择。这里我们将测评下遨游主机的香港高防VPS,有需要可以关注下。
A A

遨游主机我们多次对其进行了测试,这是一家专业经营云服务器和独立服务器的主机商,有多个机房多种线路可以选择。这里我们将测评下遨游主机的香港高防VPS,有需要可以关注下。

遨游主机的香港高防VPS提供了20~50G防御选择,拥有2个IP,1个是管理IP,1个是高防IP,最低配置双核CPU、2048M 内存、40G SSD存储、 带宽10Mbps带宽、300G 流量,价格是198元/月,支持安装Linux或Windows操作系统。

遨游主机:香港高防VPS推荐 - 50G高防支持  - 三网直连

我们先看看本地Ping平均延迟效果,如下所示:

本地Ping平均延迟

本地Ping平均延迟在69ms,网络非常的稳定基本都没有丢包的情况。

下面看看全国三网Ping平均延迟效果:

全国三网Ping平均延迟

全国三网Ping平均延迟在53ms,其中电信网络延迟在59m,联通网络延迟在51ms,移动网络延迟在50ms。

接下来再看看全球各地网络稳定性状况:

全球网络稳定性测试

从上面的测试情况来看,不管是海外节点,还是国内节点网络都是非常稳定的,基本都没有丢包的情况。

下面我们看看三网去程路由线路情况。

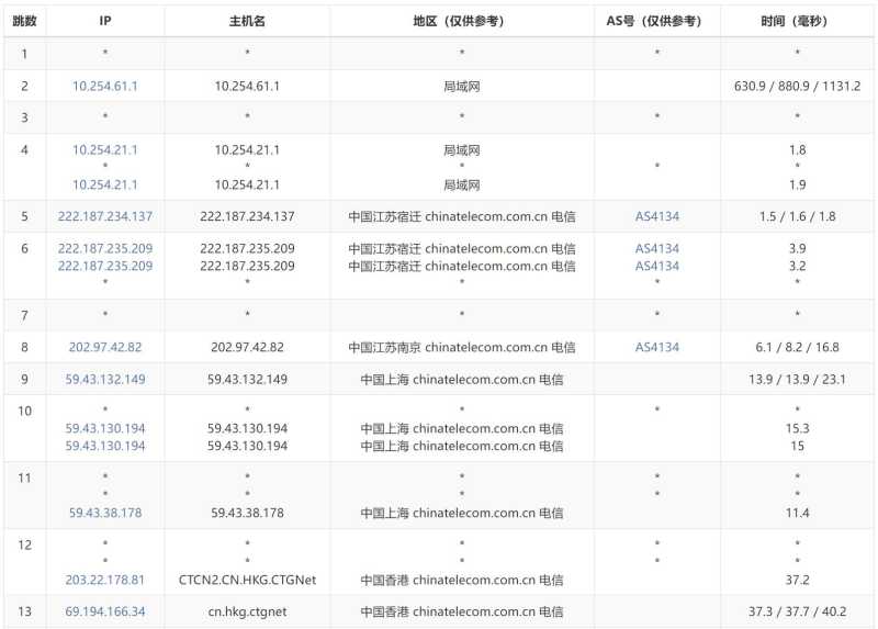
电信去程路由:

电信去程路由

联通去程路由:

联通去程路由

移动去程路由:

移动去程路由

三网去程路由是从大陆网口出去,然后直连香港机房,其中电信网络走的是59.43的CN2线路,联通去程路走的是AS4837线路,而移动网络走的是CMI线路。

我们看看这款香港高防VPS的价格套餐,如下所示:

参数项 套餐1 套餐2 套餐3 套餐4
内存 2GB 4GB 8GB 8GB
CPU核数 2 2 4 4
存储空间 40G 80G 80G 80G
带宽 10Mbps 20Mbps 20Mbps 30Mbps
流量 300G 600G 800G 1200G
防御 20G 30G 50G 50G
价格 198元/月 288元/月 488元/月 680元/月
购买链接 立即购买 立即购买 立即购买 立即购买

上面列举的是几个基础的套餐,从价格上来看不是特别的便宜,但是毕竟香港高防VPS确实太少了,而且配置还是不错的。

有需要的用户可以通过遨游主机优惠链接进入官网,选择“香港荃湾-高防”节点,如下所示:

购买教程

然后根据需要选择适合自己的套餐。

以上就是关于熬夜主机香港高防VPS测评介绍,从网络方面来说还是相当不错的,作为VPS能提供50G防御还是相当不错了,有需要可以参考选购。