819云互联韩国独立服务器怎么样?原生IP和CN2线路的值得入手吗?

文章导读
819云互联是一家专注于海外机房的主机商,提供独立服务器、云服务器和裸金属等多种产品。客户可选择多个地区的机房,包括香港、美国、日本、台湾、韩国和东南亚等,提供多样化的地理位置选择。根据公开信息,819云互联在网络稳定性、价格优势和服务质量等方面得到了客户的广泛认可。客户反馈表明,819云互联的产品性能稳定可靠,价格实惠且服务周到,是值得信赖的主机商之一。
A A

819云互联是一家专注于海外机房的主机商,提供独立服务器、云服务器和裸金属等多种产品。客户可选择多个地区的机房,包括香港、美国、日本、台湾、韩国和东南亚等,提供多样化的地理位置选择。根据公开信息,819云互联在网络稳定性、价格优势和服务质量等方面得到了客户的广泛认可。客户反馈表明,819云互联的产品性能稳定可靠,价格实惠且服务周到,是值得信赖的主机商之一。

我们多次测评过819云互联的服务器,现在他们家又推出了原生IP的韩国独立服务器,机房位于首尔,提供10Mbps CN2线路,最低配置 E5-2450L*2处理器、16GB内存、1000GB存储、无限流量,价格只需要350元/月,性价比可以说是相当不错的。接下来我们就测评下819云互联这款韩国独立服务器的网络状况。

先看看本地Ping平均延迟效果,如下所示:

本地Ping平均延迟测试

本地Ping平均延迟在85ms,这个延迟对于韩国独立服务器来说还是不错的,网络非常的稳定。

下面我们看看这款全国三网Ping平均延迟效果,如下所示:

全国三网Ping平均延迟测试

全国三网Ping平均延迟在66ms,电信网络延迟在69ms,联通网路延迟在59ms,移动网络延迟在59ms。

接下来我们看看全球各地网络稳定性情况:

全球各地网络稳定性测试

从上面的测试情况来看,不管是海外节点还是国内节点都是非常的稳定,基本都没有丢包的情况。

下面我们看看全国三网去程路由和回程路由线路情况。

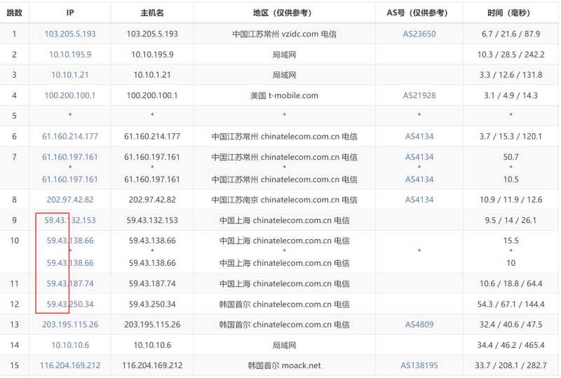
电信去程路由:

电信去程路由

联通去程路由:

联通去程路由

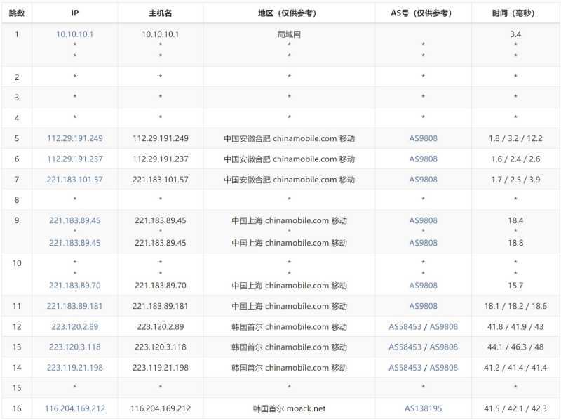
移动去程路由:

移动去程路由

我们再看看三网回程路由线路情况。

电信回程路由:

电信回程路由

联通回程路由:

联通回程路由

移动回程路由:

移动回程路由

从上面的路由测试情况可以看到三网去程和回程都是直连,并且电信网络是双向CN2 GIA线路。

以上就是关于819云互联的韩国独立服务器测评介绍,从网络方面来说还是相当不错的,全球各地都非常的稳定,而且价格非常的便宜,拥有原生IP,支持Linux和Windows操作系统,有需要韩国独立服务器的用户推荐选择。