CSTserver香港站群服务器怎么样?254个IP支持的测评值得信赖吗?

文章导读
CSTserver是一家成立时间不是太久的主机商,提供VPS和独立服务器,目前有香港和美国两个机房,网络比较稳定。这里我们将测评下CSTserver的香港站群服务器,有需要的用户可以关注下。
A A

CSTserver是一家成立时间不是太久的主机商,提供VPS和独立服务器,目前有香港和美国两个机房,网络比较稳定。这里我们将测评下CSTserver的香港站群服务器,有需要的用户可以关注下。

CSTserver的香港站群服务器拥有CN2优化线路,提供了254个IP,最低配置提供E3-1265LV3处理器、8GB内存、240GB存储、30Mbps带宽、无限流量,价格是174.9美元/月,可以使用支付宝付款。下面我们看看这款香港站群服务器的网络状况。

CSTserver:香港站群服务器测评 - 254个IP支持

先看看本地Ping平均延迟效果,如下所示:

本地Ping平均延迟测试

本地Ping平均延迟在64ms,网络比较稳定,基本都没有丢包的情况。

接下来看看全国三网Ping平均延迟情况,如下所示:

全国Ping平均延迟测试

全国三网Ping平均延迟在48ms,其中电信网络延迟在46ms,联通网络延迟在43ms,移动网络延迟在53ms。

我们在看看全球各地网络稳定性情况,如下所示:

全球网络稳定性测试

上面测试了全球海内外几十个节点,可以看到不管是国内机房还是海外机房,网络都是非常稳定的,丢包的情况比较少。

我们看看三网去程路由线路情况。

电信去程路由:

电信去程路由

电信去程路由是从上海网口出去,然后直连香港机房,走得是59.43的CN2线路。

联通去程路由:

联通去程路由

联通去程路由是从广州网口出去,然后直连香港机房,走的是AS4837线路。

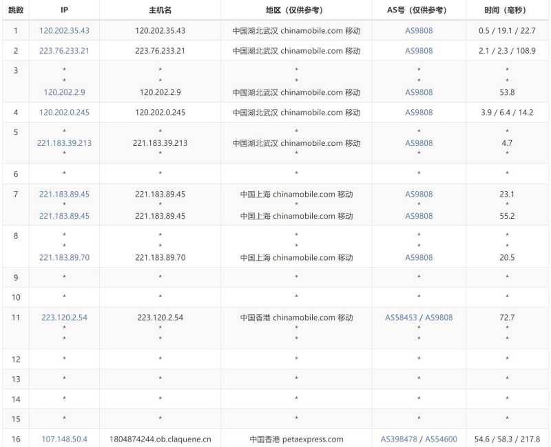
移动去程路由:

移动去程路由

移动去程路由是从上海网口出去,然后直连香港机房,走的是移动CMI线路。

下面我们看看CSTserver的香港站群服务器价格套餐,如下所示:

参数项 套餐1 套餐2 套餐3 套餐4
内存 8GB 16GB 32GB 32GB
CPU E3-1265LV3 E3-1240V2 E3-1230V2 E5-2650V2
存储空间 240GB 240GB 500GB 500GB
流量 无限 无限 无限 无限
IP数 254 254 254 254
价格 174.9美元/月 174.9美元/月 174.9美元/月 249.1美元/月
购买链接 立即购买 立即购买 立即购买 立即购买

上面展示的只是部分套餐,更多套餐可以到官网查看。从上面的价格套餐来看,这款香港站群服务器性价比还是不错的,支持安装Linux和Windows操作系统。

以上就是关于CSTserver的香港站群服务器测评介绍,从网络方面来看还是不错的,三网都比较稳定,而且电信还有CN2优化线路。从价格来看还是很便宜的,毕竟是拥有254个IP,对于需要香港站群服务器的用户来说是不错的选择。