solidseovps美国VPS洛杉矶机房怎么样,测评值不值得入手?

文章导读
solidseovps是一家专业经营VPS的主机商,主要提供了欧美多个节点可以选择,类型非常多样,机房带宽口子高达10Gbps,可以使用PayPal和信用卡多种付款方式。这里我们将测评下solidseovps的美国VPS,看看效果怎么样。
A A

solidseovps是一家专业经营VPS的主机商,主要提供了欧美多个节点可以选择,类型非常多样,机房带宽口子高达10Gbps,可以使用PayPal和信用卡多种付款方式。这里我们将测评下solidseovps的美国VPS,看看效果怎么样。

solidseovps的美国VPS拥有多个机房可以选择,这里我们测评的他们家的洛杉矶节点,提供10Gbps超大带宽,现在正在做促销,2核、4GB内存、40GB存储、500GB/月流量,价格是35美元/年,可以使用PayPal和信用卡付款。下面我们就看看这款美国VPS的网络状况。

solidseovps:美国VPS测评 - 洛杉矶机房

先看看本地Ping平均延迟效果,如下所示:

本地Ping平均延迟效果

本地Ping平均延迟在229ms左右,网络还算比较稳定,丢包情况比较少。

下面我们看看全国三网Ping平均延迟效果,如下所示:

全国三网Ping平均延迟效果

全国三网Ping平均延迟在220ms左右,其中电信网路延迟在173ms,联通网络延迟在230ms,移动网络延迟在259ms。

下面看看全球各地网络稳定性情况,如下所示:

全球各地网络稳定性测试

从上面测试的情况可以看到,海外机房网络稳定性还是不错的,但是国内机房稳定性就不是那么好了,特别是联通网络丢包比较严重。

接下来看看三网去程路由线路情况。

电信去程路由:

电信去程路由

电信去程路由是从上海网口出去,然后直连洛杉矶机房。

联通去程路由:

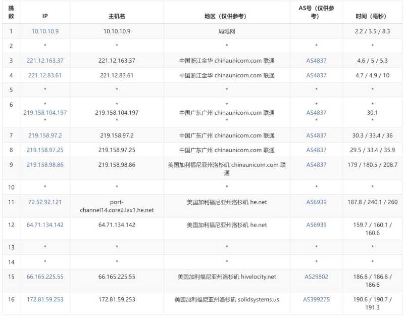
联通去程路由

联通去程路由是从广州网口出去,然后直连洛杉矶机房,走的是AS4837线路。

移动去程路由:

移动去程路由

移动去程路由是从北京网口出去,然后直连洛杉矶机房。

接下来我们看看这款美国VPS的下载速度怎么样,如下所示:

下载速度测试

本地下载速度在47kb/秒左右,这个速度对于美国VPS确实不是太好。

接下来看看具体的价格套餐怎么样,如下所示:

参数项 套餐1 套餐2 套餐3
内存 4GB 8GB 16GB
CPU核数 2 4 6
存储空间 40G 60G 140G
带宽 10Gbps 10Gbps 10Gbps
流量 500G 1T 2T
价格 35美元/年 60 美元/年 100美元/年
购买链接 立即购买 立即购买 立即购买

从上面的价格来看,确实是比较便宜,直接通过上面的链接就可以直接购买就可以了。

以上就是关于solidseovps的美国VPS测评介绍,从网络方面来说这款美国VPS不是特别的稳定,不过价格确实比较便宜,看个人需要选择。