OnHost香港VPS怎么样,原生IP的测评介绍求推荐?

文章导读
OnHost是一家新成立的主机商,目前注意经营香港机房,特点是价格比较便宜。这里我们将测评下OnHost的香港VPS,看看网络效果怎么样。
A A

OnHost是一家新成立的主机商,目前注意经营香港机房,特点是价格比较便宜。这里我们将测评下OnHost的香港VPS,看看网络效果怎么样。

OnHost的香港VPS提供了原生IP,最低配置512MB内存、1核CPU、500Mbps带宽、512GB流量,价格是17元/月,支持支付宝付款。下面我们看看具体的网络状况。

先看看全国三网Ping平均延迟效果,如下所示:

全国三网Ping平均延迟测试

全国三网Ping平均延迟在222ms左右,这个延迟对于香港VPS来说有点高了,电信网络延迟在379ms,联通网络延迟在213ms,移动网络延迟在51ms。所以除了移动网络,电信和联通网络延迟都比较高。

我们看看全球各地网络稳定性情况,如下所示:

全球网络稳定性测试

从上面测试的情况来看,海外节点网络稳定性还是可以的,而国内节点除了移动网络稳定性都不是太好。

我们看看三网去程路由线路情况。

电信去程路由:

电信去程路由

电信去程路由从国内网口出去后,绕道了欧洲各节点,然后再回到香港机房,所以延迟比较高。

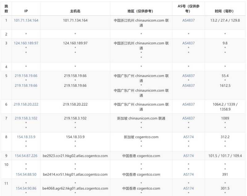
联通去程路由:

联通去程路由

联通去程路由是从广州网口出去,经过新加坡节点后到达香港机房,所以延迟比电信网络要好一点。

移动去程路由:

移动去程路由

移动去程路由是从上海网口出去,然后直连香港机房,所以移动网络延迟比较低。

下面我们看看OnHost这款香港VPS的价格套餐,如下所示:

参数项 套餐1 套餐2 套餐3 套餐4
内存 512MB 1GB 2GB 4GB
CPU核数 1 1 2 4
存储空间 6G 15G 30G 60G
带宽 500Mbps 1000Mbps 1000Mbps 1000Mbps
流量 512GB 1T 2T 4T
价格 17元/月 27元/月 50元/月 96元/月
购买链接 立即购买 立即购买 立即购买 立即购买

从上面的价格套餐来看,这款香港VPS价格还是非常便宜的,只是不支持安装Windows操作系统,目前只支持Linux操作系统。

以上就是关于OnHost的香港VPS测评介绍,从网络方面来说这款香港VPS移动网络稳定性还是不错的,而电信和联通网络因为绕道了所以延迟较高,要使用需要中转一下。