速科云美国VPS推荐有哪些?洛杉矶CUVIP专线怎么样,值得入手吗?

文章导读
速科云是一家专业经营云服务器和独立服务器的主机商,拥有香港、美国、日本等多个机房可以选择,特点是价格便宜,而且网络很稳定。这里我们就详细测评下速科云的美国VPS,看看效果怎么样。
A A

速科云是一家专业经营云服务器和独立服务器的主机商,拥有香港、美国、日本等多个机房可以选择,特点是价格便宜,而且网络很稳定。这里我们就详细测评下速科云的美国VPS,看看效果怎么样。

速科云的美国VPS有多种类型,而这里我们测评的是他们家的洛杉矶CUVIP专线类型,拥有CN2优化线路,并且提供100G防御,拥有30Mbps带宽,最低配置16GB内存、16核CPU、100GB存储,价格是153.6元/月。下面我们看看大陆地区用户测试具体的网络表现怎么样。

速科云官网:https://www.sukeyun.com/

速科云:美国VPS推荐 - 洛杉矶CUVIP专线

先看看本地Ping平均延迟效果,如下:

本地Ping平均延迟测试

本地Ping平均延迟在163ms,这个延迟对于美国VPS来说是非常不错的,网络稳定,几乎没有丢包的情况。

我们看看三网Ping平均延迟效果,如下所示:

全国三网Ping平均延迟测试

全国三网Ping平均延迟在164ms左右,其中电信网络延迟在157ms,联通网络延迟在159ms,移动网络延迟在178ms。

下面我们看看全球海内外各地网络稳定性情况,如下:

全球网络稳定性测试

从上面第三方测试工具可以看到,不管是国内节点还是还是节点,网络都是非常稳定的,基本都没有丢包的情况。

下面我们看看全国三网去程路由路由线路情况。

电信去程路由:

电信去程路由

联通去程路由:

联通去程路由

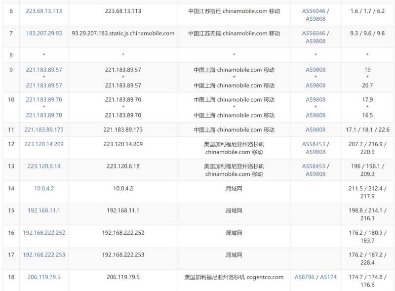
移动去程路由:

移动去程路由

三网去程路由都是从上海网口直连洛杉矶机房,电信网络走的是59.43的CN2线路;联通网络走的是AS9929优化线路;移动网络走的是CMI骨干网。可以说三网去程线路都是相当不错的。

需要购买的用户通过速科云官网直接进入首页,然后选择“产品与服务”菜单下的“美国服务器”,如下所示:

购买教程

跳转到套餐页面后选择“洛杉矶CUVIP专线”套餐,如下所示:

套餐选择

然后选择适合自己的套餐就可以了。

以上就是关于速科云洛杉矶CUVIP专线美国VPS的测评介绍,从网络方面来看这款美国VPS还是相当稳定的,三网都是优化线路,并且提供了DDoS高防支持,可以安装多个版本Linux和Windows操作系统。缺点就是这款美国VPS价格稍微高了点,但是性能还是不错的,对于速度和网络稳定性要求比较高的用户是非常适合的。