V5.NET韩国独立服务器测评怎么样?三网直连延迟低值得入手吗?

文章导读
V5.NET是专业经营香港和韩国机房的主机商,专业提供独立服务器,价格非常的便宜,而且网络稳定性很不错。本文我们将测评下V5.NET的韩国独立服务器,看看网络效果怎么样。
A A

V5.NET是专业经营香港和韩国机房的主机商,专业提供独立服务器,价格非常的便宜,而且网络稳定性很不错。本文我们将测评下V5.NET的韩国独立服务器,看看网络效果怎么样。

V5.NET官网:https://v5.net/

V5.NET:韩国独立服务器测评 - 三网直连延迟低

V5.NET的韩国独立服务器数据中心位于首尔,接驳CTCN2/KT/LG/HE/SK上级运营商,不仅国内访问速度优秀,针对欧美地区也进行了网络优化,最低配置16 GB内存、2xE5-2620 CPU,价格是750元/月。接下来就看看具体的网络状况。

先看本地Ping平均延迟效果,如下所示:

本地Ping平均延迟效果

本地Ping平均延迟在100ms左右,网络还是非常的稳定,丢包情况很少。

下面我们看看看看全国三网Ping平均延迟效果:

全国三网Ping平均延迟效果

全国三网Ping平均延迟在62ms左右,电信、联通和移动网络延迟都差不多。

接下来我们看看全球各地网络稳定性情况,如下所示:

全球网络稳定性测试

全球各地网络稳定性还是相当不错的,除了几个节点偶尔丢包以外,基本都没有丢包的情况。

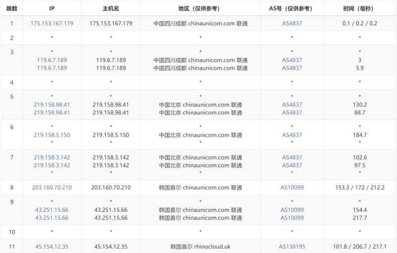
我们看看三网去程路由线路情况。

电信去程路由:

电信去程路由

联通去程路由:

联通去程路由

移动去程路由:

移动去程路由

三网去程路由都是从国内网口直连首尔机房,线路还是不错的。

看看这款韩国独立服务器的价格套餐,如下所示:

参数项 套餐1 套餐2
内存 16GB 32GB
CPU 2×E5-2620 2×E5-2620
存储空间 240GB 480GB
带宽 10Mbps 10Mbps
流量 不限 不限
价格 750元/月 850元/月
购买链接 立即购买 立即购买

从价格套餐来看确实是非常便宜的,支持Linux和Windows操作系统,满足大多数用户的需求,性价比很高。

以上就是关于V5.NET的韩国独立服务器测评介绍,从网络方面来说很少有主机商能达到这个效果,而且价格很便宜,有需要的用户可以参考选购。