韩国VPS推荐哪里有?819云互联的CN2线路三网直连怎么样,值得入手吗?

文章导读
819云互联是专业经营VPS云服务器和独立服务器的主机商,现在又上线了原生IP韩国VPS,我们来看看网络效果怎么样。
A A

819云互联是专业经营VPS云服务器和独立服务器的主机商,现在又上线了原生IP韩国VPS,我们来看看网络效果怎么样。

819云互联的韩国VPS机房位于首尔,提供了CN2优化线路,最低配置1核、1GB内存、20GB存储、3Mbps带宽、无限流量,价格是49元/月,支持安装Linux和Windows操作系统。

先看看本地Ping平均延迟效果,如下所示:

本地Ping平均延迟效果

本地Ping平均延迟在65ms左右,这个延迟对于韩国VPS来说相当不错了,而且网络很稳定。

下面看看全国三网Ping平均延迟:

全国Ping平均延迟效果

三网Ping平均延迟在60ms左右,其中电信网络延迟在60ms,联通网络延迟杂59ms,移动网络延迟在62ms,三网延迟都很低。

我们看看全球海内外各地网络稳定性情况,如下所示:

全球网络稳定性测试

从测试情况来看,不管是国内机房还是海外机房网络稳定性都是不错的,丢包情况很少。

接下来我们看看三网去程路由线路情况。

电信去程路由:

电信去程路由

联通去程路由:

联通去程路由

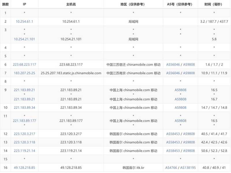
移动去程路由:

移动去程路由

可以看到三网都是直连线路,并且电信网络走得是59.43的CN2线路,可以说是非常不错的。

下面我们看看这款韩国VPS的价格套餐,如下所示:

参数项 套餐1 套餐2 套餐3 套餐4
内存 1GB 2GB 4GB 6GB
CPU核数 1 2 4 8
存储空间 20G 20G 20G 20G
带宽 3Mbps 3Mbps 3Mbps 3Mbps
流量 无限 无限 无限 无限
价格 49元/月 77元/月 105元/月 217元/月
购买链接 立即购买 立即购买 立即购买 立即购买

上面的价格套餐只是最基础,包括内存、CPU、存储空间、带宽都是可以自定义进行选择的,非常的灵活。

以上就是关于819云互联韩国VPS的测评介绍,从网络方面来说这款韩国VPS可以说是相当不错的,拥有三网直连线路,而且延迟很低,并且支持Linux和Windows操作系统,能够满足众多用户需求,有需要韩国VPS的用户可以参考选购。