网硕互联香港独立服务器双向CN2 GIA优化线路怎么样,值得入手吗?

文章导读
网硕互联是国人运营的主机商,提供了VPS云服务器、独立服务器、高防服务器等多种产品,支持香港、美国、韩国、日本等多个机房,还有国内节点机房支持。
A A

网硕互联是国人运营的主机商,提供了VPS云服务器、独立服务器、高防服务器等多种产品,支持香港、美国、韩国、日本等多个机房,还有国内节点机房支持。

网硕互联的香港独立服务器拥有双向CN2 GIA优化线路,大陆地区用户访问延迟低、速度快、网络稳定,最低配置E3-1230处理器、8GB内存、1TB HDD存储、 10Mbps带宽、无限流量、3个IP,价格是499元/月,价格非常的便宜。下面我们就测试下这款香港独立服务器的网络状况。

网硕互联:香港独立服务器 - 双向CN2 GIA优化线路

先看看本地ping平均延迟效果,如下所示:

本地Ping平均延迟测试

本地Ping平均延迟在55ms左右,网络很稳定,基本都没有丢包。

下面看看电信、联通、移动三网Ping平均延迟效果,如下所示:

全国三网Ping平均延迟测试

全国三网Ping平均延迟在45ms左右,电信网络延迟在45ms,联通网络延迟在38ms,移动网络延迟在53ms,三网延迟还是比较低的。

我们看看三网去程路由线路情况。

电信去程路由:

电信去程路由

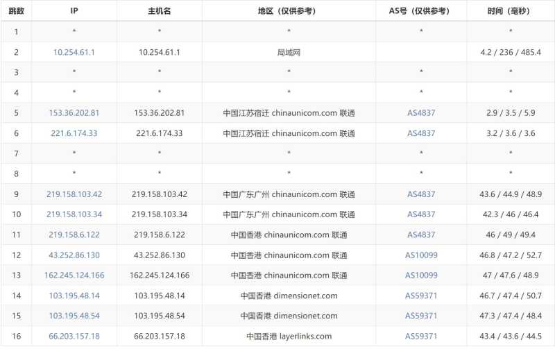
联通去程路由:

联通去程路由

移动去程路由:

移动去程路由

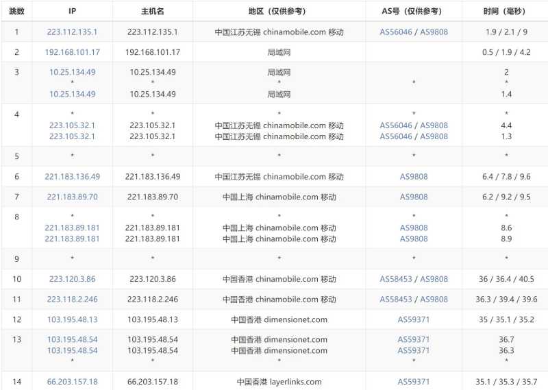
三网去程路由都是从国内网口直连香港机房,电信网络走的是CN2 GIA线路,联通网络走的是AS4837线路,移动网络走的是CMI骨干网。

接下来我们看看三网回程线路情况。

电信回程路由:

电信回程路由

联通回程路由:

联通回程路由

移动回程路由:

移动回程路由

三网回程都是直连,并且电信网络回程也是CN2 GIA优化线路,联通网络也是AS4837线路,移动网络走的是CMI骨干网。

接下来我们看看这款香港独立服务器的性能和速度怎么样,如下所示:

性能和速度测试

服务器磁盘I/O在449MB/秒左右,下载和上传速度都跑满了100Mbps,还是非常不错的。

接下来看看这款香港独立服务器的价格怎么样,如下:

参数项 套餐1 套餐2 套餐3 套餐4
内存 8GB 16GB 16GB 32GB
CPU E3-1230 E5-2660 2*E5-2450 2*E5-2660
存储空间 1TB HDD 1TB HDD 1TB HDD 1TB HDD
带宽 10Mbps 10Mbps 10Mbps 10Mbps
流量 无限 无限 无限 无限
IP数 3 3 3 3
价格 499元/月 699元/月 799元/月 980元/月
购买链接 立即购买 立即购买 立即购买 立即购买

从价格上来看,性价比还是相当不错的,价格非常的便宜,并且可以支持选择DDoS防御,可以安装Linux和Windows操作系统,能够满足多种用户需求。

以上就是关于网硕互联的香港独立服务器测评介绍,我们从延迟、稳定性、路由线路、速度、性能多个方面进行了测试,网络还是非常稳定的,而且价格很便宜,性价比很高,有需要可以参考选购。