819云互联的韩国独立服务器怎么样,有什么测评介绍吗?

文章导读
819云互联是专业经营独立服务器的主机商,有香港、美国、日本、韩国多个机房可以选择,因为线路比较好,而且价格较便宜,所以受到比较多用户好评。
📋 目录
  1. A 总结
A A

819云互联是专业经营独立服务器的主机商,有香港、美国、日本、韩国多个机房可以选择,因为线路比较好,而且价格较便宜,所以受到比较多用户好评。

819云互联的韩国服务器机房位于首尔,拥有三网直连线路,最低配置使用E3 1230处理器、16GB内存、240GB SSD存储空间、20Mbps CN2带宽、无限流量、3个IP,价格是899元/月,支持Linux和Windows操作系统。接下来看看这款韩国独立服务器的网络状况。

819云互联:韩国独立服务器怎么样测评介绍

先看看我本地Ping平均延迟效果,如下所示:

本地Ping平均延迟测试

我本地Ping平均延迟在80ms,这个延迟对于韩国机房来说还是不错的,网络很稳定不丢包。

下面看看电信、联通、移动三网Ping平均延迟效果,如下所示:

全国三网Ping平均延迟测试

全国三网Ping平均延迟在88ms,其中电信网络延迟在88ms,联通网络延迟在66ms,移动网络延迟在108ms。

接下来看看全球海内外各地网络稳定性情况,如下所示:

全球网络稳定性

从上面测试的情况来看,不管是海外节点还是国内节点网络稳定性都不错,都没有丢包的情况,可以说全球范围内都很稳定。

接着我们看看电信、联通、移动三网去程路由线路情况。

电信去程路由:

电信去程路由

电信去程路由国内网口出去后直连首尔机房。

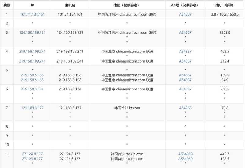
联通去程路由:

联通去程路由

联通去程路由是从北京网口出去,然后直连首尔机房。

移动去程路由:

移动去程路由

移动去程路由是从上海网口出去,经过东京节点后到达首尔机房。

最后我们看看819云互联这款韩国独立服务器的性能和速度:

性能和速度

从上面的测试结果可以看到,磁盘I/O在280MB/秒左右,上传速度在10Mbps左右,下载速度跑满100Mbps。

总结

我们从稳定性、延迟、路由线路、速度和性能多个方面进行了测试,从网络方面整体来看,这款韩国独立服务器还是非常稳定的,再加上价格比较便宜,性价比还是很高的,有需要的用户可以参考选购。