恒创主机美国VPS推荐有哪些?CN2线路三网直连的怎么样,值得入手吗?

文章导读
恒创主机是一家香港公司经营的主机商,主要提供VPS云服务器和独立服务器,拥有香港、美国、日本、韩国多个机房可以选择,提供了CN2优化线路,价格比较便宜,我们多次对其进行过测评,并且获得众多用户好评。
A A

恒创主机是一家香港公司经营的主机商,主要提供VPS云服务器和独立服务器,拥有香港、美国、日本、韩国多个机房可以选择,提供了CN2优化线路,价格比较便宜,我们多次对其进行过测评,并且获得众多用户好评。

这里我们将测评下恒创主机的美国VPS,其机房位于洛杉矶,提供了CN2优化线路,国内访问延迟很低、网络很稳定,最低配置1核、1GB内存、5Mbps带宽、50GB存储、无限流量,价格是272元/年,支持支付宝付款,支持Linux和Windows操作系统。下面就看看这款美国VPS的网络状况。

恒创主机:美国VPS推荐 - CN2线路三网直连

先看看本地Ping平均延迟效果,如下所示:

本地Ping平均延迟测试

我本地Ping平均延迟在158ms左右,这个延迟对于美国VPS来说相当不错,网络非常的稳定。

下面看看全国三网Ping平均延迟效果,如下所示:

全国三网Ping平均延迟测试

全国三网Ping平均延迟在177ms左右,电信网络延迟在157ms,联通网络延迟在188ms,移动网络延迟在189ms。

我们看看全球各地网络稳定性情况,如下所示:

全球网络稳定性测试

全球各地网络稳定性还是不错的,不管是国内节点还是海外节点基本都没有丢包的情况。

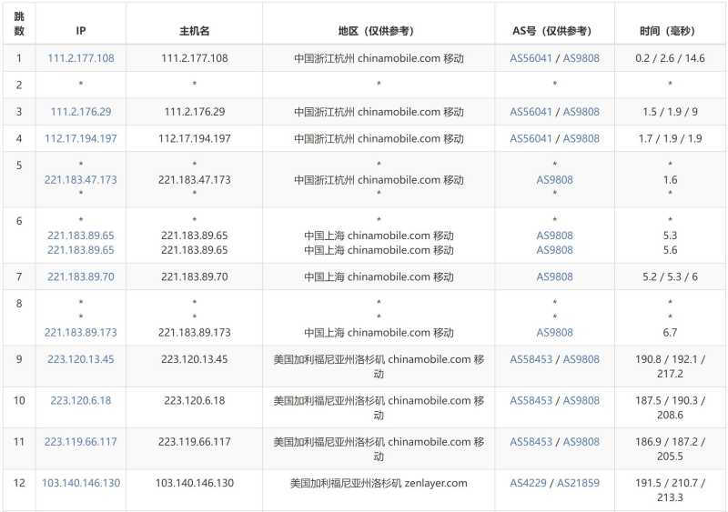
下面我们看看三网去程路由线路情况。

电信去程路由:

电信去程路由

电信去程路由是从上海网口出去,然后直连洛杉矶机房,走的是59.43的CN2优化线路。

联通去程路由:

联通去程路由

联通去程路由是从广州网口出去,然后直连洛杉矶机房,走的是AS4837线路。

移动去程路由:

移动去程路由

移动去程路由是从上海网口出去,然后直连洛杉矶机房,走的是移动CMI线路。

从上面测试的情况来看,三网线路都是直连的,所以延迟才会比较低。

下面我们看看恒创主机这款美国VPS的价格套餐,如下所示:

参数项 套餐1 套餐2 套餐3 套餐4
内存 1GB 2GB 4GB 8GB
CPU核数 1 2 2 4
存储空间 50G 50G 50G 50G
带宽 5Mbps 5Mbps 5Mbps 5Mbps
流量 无限流量 无限流量 无限流量 无限流量
价格 272元/年 490元/年 638元/年 1230元/年
购买链接 立即购买 立即购买 立即购买 立即购买

从上面的价格套餐来看,这款美国VPS价格还是相当便宜的,提供了Linux和Windows操作系统,能够满足多种用户需求。

需要购买的用户可以通过恒创主机优惠链接进入官网,点击“产品中心”菜单下的“美国云服务器”链接,如下所示:

购买教程

跳转到美国云服务器产品页面后,选择适合自己的套餐就可以了。

以上就是关于恒创主机的美国VPS测评介绍,这款美国VPS网络是非常稳定的,三网延迟都很低,算是非常优秀的了,而且价格是非常便宜的,拥有很高的性价比,有需要的用户可以参考选择。