Megalayer菲律宾VPS怎么样?三网直连优化线路好用吗?

文章导读
Megalayer是一家专业经营海外机房的主机商,由国人运营,提供了一些比较稀缺的节点,在国内有不少的用户了。这里我们将测评下Megalayer的菲律宾VPS,看看大陆地区用户访问网络怎么样。
A A

Megalayer是一家专业经营海外机房的主机商,由国人运营,提供了一些比较稀缺的节点,在国内有不少的用户了。这里我们将测评下Megalayer的菲律宾VPS,看看大陆地区用户访问网络怎么样。

Megalayer的菲律宾VPS拥有优化带宽和国际带宽两种线路,这里我们测评的是他们家的优化线路,最低配置1核、1GB内存、50GB存储、5Mbps带宽、无限流量,价格是49.9元/月,支持安装Linux和Windows操作系统,支持支付宝付款。下面就测试下具体的网络状况。

Megalayer:菲律宾VPS测评 - 三网直连优化线路

先看看本地Ping平均延迟效果,如下所示:

Megalayer菲律宾VPS测评 - 本地Ping平均延迟测试

我本地Ping平均延迟在66ms左右,这个延迟对于菲律宾VPS来说相当不错了,而且网络很稳,基本都没有丢包的情况。

我们再看看全国三网Ping平均延迟效果,如下所示:

Megalayer菲律宾VPS测评 - 全国三网Ping平均延迟测试

全国三网Ping平均延迟在61ms左右,其中电信网络延迟在62ms左右,联通网络延迟在54ms左右,移动网络延迟在66ms左右。

我们看看全球各地网络稳定性情况,如下所示:

Megalayer菲律宾VPS测评 - 全球网络稳定性测试

从测试结果可以看到,不管是海外机房还是国内机房,网络都是非常稳定的,基本都没有丢包的情况。

接下来我们看看三网去程路由线路情况。

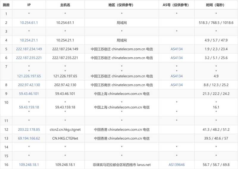
电信去程路由:

Megalayer菲律宾VPS测评 - 电信去程路由

联通去程路由:

Megalayer菲律宾VPS测评 - 联通去程路由

移动去程路由:

Megalayer菲律宾VPS测评 - 移动去程路由

从上面的测试情况来看,电信、联通、移动三网都是从大陆网口出去后,经过香港节点,然后直连马尼拉机房,所以三网都是直连。

接下来我们看看Megalayer这款菲律宾VPS的价格套餐,如下所示:

参数项 套餐1 套餐2 套餐3 套餐4
内存 1GB 2GB 4GB 6GB
CPU核数 1 2 4 6
存储空间 50G 60G 70G 80G
带宽 10Mbps 12Mbps 14Mbps 16Mbps
流量 无限 无限 无限 无限
价格 49.5元/月 89.5元/月 154.5元/月 219.5元/月
购买链接 立即购买 立即购买 立即购买 立即购买

从上面的价格套餐来看,这款菲律宾VPS还是相当便宜的,拥有非常不错的性价比,而且支持安装Linux和Windows操作系统,能够满足大多数用户的需求。

需要购买的用户Megalayer官网进入首页后进行注册,然后选择“Store”菜单下的“VPS”链接,选择“MNL-VPS-优化带宽”,如下图所示:

Megalayer菲律宾VPS购买教程

然后根据需要选择适合自己的套餐就可以了。

以上就是关于Megalayer的菲律宾VPS测评介绍,从网络方面来说这款菲律宾VPS拥有三网直连线路,大陆地区访问延迟低、速度快、网络稳定;从价格方面来说这款菲律宾VPS也是非常便宜的,并且要考虑到菲律宾节点非常的稀缺,所以性价比还是相当不错的。