丽萨主机日本VPS怎么样?原生IP的测评介绍有哪些?

文章导读
丽萨主机是一家专业经营VPS的主机商,提供原生IP,有香港、美国、日本等多个机房可以选择。这里我们将测评下丽萨主机的日本VPS,看看网络效果怎么样。
A A

丽萨主机是一家专业经营VPS的主机商,提供原生IP,有香港、美国、日本等多个机房可以选择。这里我们将测评下丽萨主机的日本VPS,看看网络效果怎么样。

丽萨主机的日本VPS提供了原生IP,拥有三网直连线路,母机提供1000Mbps超大带宽,最低配置1核、1GB内存、20GB存储、300Mbps带宽、3000GB流量,价格是68元/月,可以使用支付宝付款。下面我们就测试下详细的网络状况。

丽萨主机:日本VPS怎么样测评介绍 - 原生IP

先看看本地Ping平均延迟效果,如下所示:

丽萨主机日本VPS测评 - 本地Ping平均延迟测试

我本地Ping平均延迟在98ms左右,网络还是很稳定的,基本都没有丢包的情况。

下面我们看看全国三网Ping平均延迟效果,如下所示:

丽萨主机日本VPS测评 - 全国三网Ping平均延迟测试

全国三网Ping平均延迟在110ms左右,其中电信网络延迟在76ms左右,联通网络延迟在161ms左右,移动网络延迟在92ms左右。

我们看看全国三网去程路由线路情况。

电信去程路由:

丽萨主机日本VPS测评 - 电信去程路由

电信去程路由是从广州网口出去,然后直连东京机房。

联通去程路由:

丽萨主机日本VPS测评 - 联通去程路由

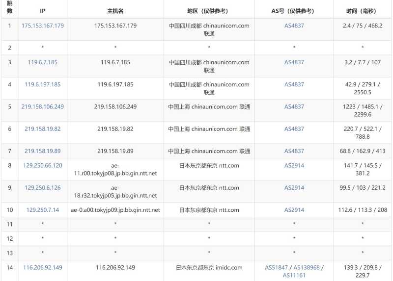
联通去程路由是从上海网口出去,然后直连东京机房,走的是AS4837线路。

移动去程路由:

丽萨主机日本VPS测评 - 移动去程路由

移动去程路由是从上海网口出去,经过香港节点后到达东京机房。

我们看看这款日本VPS的价格套餐,如下所示:

参数项 套餐1 套餐2 套餐3 套餐4
内存 1GB 2GB 4GB 2GB
CPU核数 1 2 4 2
存储空间 20G 40G 80G 40G
带宽 300Mbps 500Mbps 1000Mbps 200Mbps
流量 3000GB 8000GB 20000GB 无限
价格 68元/月 100元/月 300元/月 598元/月
购买链接 立即购买 立即购买 立即购买 立即购买

从上面的价格套餐可以看到丽萨主机的这款日本VPS性价比还是相当不错的,而且还有无限流量套餐支持,能够满足多种用户需求。

以上就是关于丽萨主机日本VPS的相关测评介绍。从网络方面来说这款日本VPS还是不错的,拥有三网直连线路,并且性价比很高,支持支付宝付款,购买也非常的方便,有需要可参考选购。