丽萨主机香港VPS的ISP类型IP怎么样,测评如何值得入手吗?

文章导读
丽萨主机是一家专业经营VPS的主机商,主要是提供ISP类型IP,有香港、美国、新加坡多个机房可以选择,拥有家宽网络,但是价格还比较便宜,在大陆地区有非常多的用户。这里我们就详细测评下丽萨主机的香港VPS,主要是介绍其网络状况。
A A

丽萨主机是一家专业经营VPS的主机商,主要是提供ISP类型IP,有香港、美国、新加坡多个机房可以选择,拥有家宽网络,但是价格还比较便宜,在大陆地区有非常多的用户。这里我们就详细测评下丽萨主机的香港VPS,主要是介绍其网络状况。

丽萨主机的香港VPS拥有ISP类型,拥有CN2线路,三网直连,最低配置1核、1GB内存、20GB存储、150Mbps带宽、3000GB流量,价格是88元/月,支持支付宝付款。下面我们就具体看看这款香港VPS的网络状况。

丽萨主机:香港VPS测评 - ISP类型IP

我们先看看这款香港VPS的IP是不是ISP类型,如下所示:

丽萨主机香港VPS测评 - ISP类型IP测评

可以看到IP类型确实isp的,不过注意不是双isp类型。

我们看看我本地ping平均延迟效果,如下所示:

丽萨主机香港VPS测评 - 本地Ping平均延迟效果

我本地Ping平均延迟在63ms左右,网络还是非常稳定的,基本都没有丢包的情况。

下面看看全国三网Ping平均延迟效果,如下所示:

丽萨主机香港VPS测评 - 全国三网Ping平均延迟测试

全国三网Ping平均延迟在52ms左右,其中电信网络延迟在53ms左右,联通网络延迟在54ms左右,移动网络延迟在49ms左右。

下面我们看看三网去程路由线路情况。

电信去程路由:

丽萨主机香港VPS测评 - 电信去程路由

电信去程路由是从广州网口出去,然后直连香港机房,走得是59.43的CN2线路。

联通去程路由:

丽萨主机香港VPS测评 - 联通去程路由

联通去程路由是从广州网口出去,然后直连香港机房,走的是AS4837线路。

移动去程路由:

丽萨主机香港VPS测评 - 移动去程路由

移动去程路由是从广州网口出去,直连香港机房,走的是移动CMI线路。

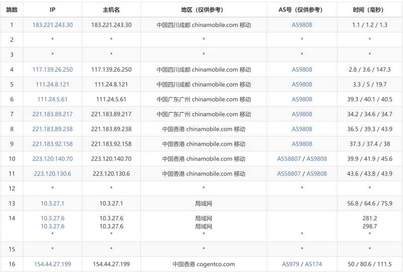
我们看看三网回程线路情况。

电信回程路由:

丽萨主机香港VPS测评 - 电信回程路由

联通回程路由:

丽萨主机香港VPS测评 - 联通回程路由

移动回程路由:

丽萨主机香港VPS测评 - 移动回程路由

可以看到三网回程路由都是从香港机房直连回到大陆网口的。

接下来我们看看这款香港VPS性能和速度怎么样,如下所示:

丽萨主机香港VPS测评 - 性能和速度测试

可以看到服务器采用的是2.4GHz的 E5-2680CPU,磁盘I/O在595MB/秒左右。另外上传速度跑到了190Mbps左右,而下载速度在20~30Mbps左右。

我们再看看丽萨主机这款香港VPS的价格套餐,如下所示:

参数项 套餐1 套餐2 套餐3 套餐4
内存 1GB 2GB 4GB 2GB
CPU核数 1 2 4 2
存储空间 20G 40G 80G 40G
带宽 150Mbps 200Mbps 300Mbps 50Mbps
流量 3000GB 6000GB 12000GB 无限
价格 88元/月 158元/月 388元/月 798元/月
购买链接 立即购买 立即购买 立即购买 立即购买

从上面的价格套餐来看,这款香港VPS性价比还是相当不错的,而且拥有ISP类型IP,有有限流量和无限流量套餐可以选择。

以上就是关于丽萨主机的香港VPS测评介绍。这款香港VPS的主要特点就是拥有ISP类型IP,网络还是比较稳定,而且支持无限流量,有需要可以参考选购。