AIKVM德国VPS怎么样,三网直连CN2线路的测评介绍在哪里看?

文章导读
AIKVM智能云是专业经营VPS云服务器的主机商,拥有欧美亚三大洲多个机房,价格比较便宜,提供了优化线路。这里我们将测评下AIKVM的德国VPS,看看网络效果怎么样。
A A

AIKVM智能云是专业经营VPS云服务器的主机商,拥有欧美亚三大洲多个机房,价格比较便宜,提供了优化线路。这里我们将测评下AIKVM的德国VPS,看看网络效果怎么样。

AIKVM的德国VPS机房位于法兰克福,拥有CN2优化线路,最低配置1核、1GB内存、25GB存储、10Mbps带宽、无限流量,价格是35元/月,支持支付宝付款。下面我们看看AIKVM的这款德国VPS网络状况。

AIKVM:德国VPS怎么样测评介绍 - 三网直连CN2线路

先看看本地Ping平均延迟效果,如下所示:

AIKVM德国VPS测评 - 本地Ping平均延迟测试

我本地Ping平均延迟在192ms左右,网络还是非常稳定的,基本都没有丢包的情况。

接下来我们看看全国三网Ping平均延迟效果,如下所示:

AIKVM德国VPS测评 - 全国三网Ping平均延迟测试

全国三网Ping平均延迟在191ms左右,其中电信网络延迟在188ms左右,联通网络延迟在189ms左右,移动网络延迟在197ms左右,对于德国VPS来说三网延迟都比较低。

接下来我们看看全球海内外各地网络稳定性情况,如下所示:

AIKVM德国VPS测评 - 全球网络稳定性测试

从上面测试情况来看,不管是国内节点还是海外节点网络都是非常稳定的,基本都没有丢包的情况。

下面我们看看电信、联通、移动三网去程路由线路情况。

电信去程路由:

AIKVM德国VPS测评 - 电信去程路由

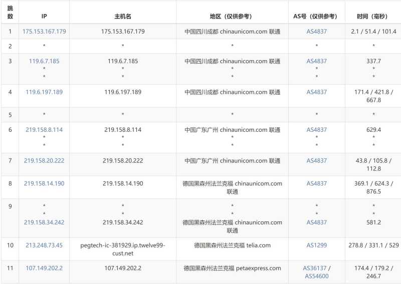
联通去程路由:

AIKVM德国VPS测评 - 联通去程路由

移动去程路由:

AIKVM德国VPS测评 - 移动去程路由

从上面测试情况来看,三网去程路由都是从国内网口出去,然后直连法兰克福机房。其中电信网络走的是59.43的CN2线路,联通网络走的是AS4938线路,移动网络走都是CMI骨干网。

下面我们看看AIKVM这款德国VPS的价格套餐,如下所示:

参数项 套餐1 套餐2 套餐3 套餐4
内存 1GB 2GB 4GB 6GB
CPU核数 1 2 4 4
存储空间 25G 40G 80G 100G
带宽 10Mbps 10Mbps 10Mbps 10Mbps
流量 无限 无限 无限 无限
价格 35元/月 84.5元/月 162.5元/月 195元/月
购买链接 立即购买 立即购买 立即购买 立即购买

从上面价格套餐来看,AIKVM的德国VPS还是比较便宜的,性价比很高,支持支付宝付款,购买也非常的方便。

需要购买的用户通过AIKVM官网链接进入后,选择“法兰克福”节点即可,如下所示:

AIKVM德国VPS购买教程

然后根据需要选择适合自己的套餐就可以了。

以上就是关于AIKVM的德国VPS测评介绍,从网络方面来看这款德国VPS非常稳定,拥有三网直连线路,并且价格很便宜,拥有很高的性价比,有需要德国VPS的用户可以参考选购。