AIKVM香港VPS的CN2优化线路怎么样,值得入手吗?

文章导读
AIKVM智能云是专业经营VPS云服务器的主机商,拥有多个机房可以选择,价格比较便宜。下面我们测评下AIKVM的香港VPS,看看网络怎么样。
A A

AIKVM智能云是专业经营VPS云服务器的主机商,拥有多个机房可以选择,价格比较便宜。下面我们测评下AIKVM的香港VPS,看看网络怎么样。

AIKVM的香港VPS拥有多种线路可以选择,这里我们测评的他们家的CN2精品线路,最低配置1核、1GB内存、25GB存储、5Mbps带宽、无限流量,价格是64.35元/月,支持支付宝付款。下面我们测评下这款香港VPS的网络状况。

AIKVM:香港VPS测评 - CN2优化线路

先看看本地Ping平均延迟效果,如下所示:

AIKVM香港VPS测评 - 本地Ping平均延迟测试

我本地Ping平均延迟测试在59ms左右,网络比较稳定,基本都没有丢包的情况。

下面我们看看全国三网Ping平均延迟测试,如下所示:

AIKVM香港VPS测评 - 全国三网Ping平均延迟测试

可以看到全国三网Ping平均延迟在53ms左右,其中电信网络延迟在49ms左右,联通网络延迟在45ms左右,移动网络延迟在66ms左右。

下面我们看看全球各地网络稳定性情况,如下所示:

AIKVM香港VPS测评 - 全球各地网络稳定性情况

从测试情况来看,全球各地网络都是非常稳定的,只是偶尔有节点丢包外,基本都是很稳定的。

下面我们看看三网去程路由线路情况。

电信去程路由:

AIKVM香港VPS测评 - 电信去程路由

电信去程路由是从上海网口出去,然后直连香港机房,走的是59.43的CN2线路。

联通去程路由:

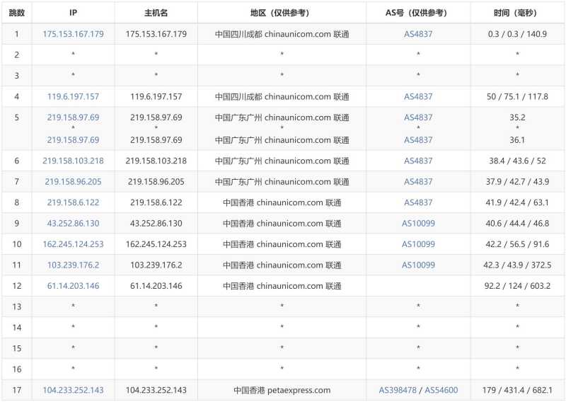
AIKVM香港VPS测评 - 联通去程路由

联通去程路由是从广州网口出去,然后直连香港机房,走的是AS4837线路。

移动去程路由:

AIKVM香港VPS测评 - 移动去程路由

移动去程路由是从上海网口出去,然后直连香港机房,走的是移动CMI线路。

下面我们看看AIKVM这款香港VPS的价格套餐,具体如下所示:

参数项 套餐1 套餐2 套餐3 套餐4
内存 1GB 1.5GB 2GB 4GB
CPU核数 1 2 2 4
存储空间 25G 30G 40G 80G
带宽 5Mbps 5Mbps 5Mbps 5Mbps
流量 无限 无限 无限 无限
价格 64.35元/月 97.5元/月 130元/月 162.5元/月
购买链接 立即购买 立即购买 立即购买 立即购买

从价格方面来看这款香港VPS价格不是特别便宜,不过配置还可以,拥有无限流量。

需要购买的用户可以通过AIKVM官网进入首页后,选择“产品中心”菜单下的“云服务器”,如下所示:

AIKVM VPS购买教程 - 首页入口

跳转页面后点击“立即购买”按钮,然后选择“香港”节点,如下所示:

AIKVM香港VPS

然后根据需要选择适合自己的套餐购买就可以了。

以上就是关于AIKVM的香港VPS测评介绍,从网络方面来说这款香港VPS还是不错的,从价格方面来说这款香港VPS不是那么便宜,更多可以参考最新香港VPS推荐选购。