HostKVM荷兰VPS三网直连怎么样,实际测评值得入手吗?

文章导读
HostKVM是一家专业经营云服务器的主机商,拥有欧洲、美国、东南亚多个机房可以选择,特点是价格非常的便宜,而且网络稳定,受到广大用户的好评。这里我们将详细测评HostKVM的荷兰VPS,看看网络效果怎么样。
A A

HostKVM是一家专业经营云服务器的主机商,拥有欧洲、美国、东南亚多个机房可以选择,特点是价格非常的便宜,而且网络稳定,受到广大用户的好评。这里我们将详细测评HostKVM的荷兰VPS,看看网络效果怎么样。

HostKVM的荷兰VPS机房位于阿姆斯特丹,提供了100Mbps瞬时带宽,最低配置1核、2GB内存、100Mbps带宽、40GB存储、500GB流量,价格是7美元/月,支持Linux和Windows操作系统。下面我们就具体测评下这款荷兰VPS的网络状况。

HostKVM荷兰VPS测评 - 三网直连

先看看本地Ping平均延迟效果,如下所示:

HostKVM荷兰VPS测评 - 本地Ping平均延迟测试

我本地Ping平均延迟在318ms左右,网络很稳定,基本都没有丢包的情况。

下面我们看看全国三网Ping平均延迟效果,如下所示:

HostKVM荷兰VPS测评 - 全国三网Ping平均延迟效果

三网Ping平均延迟在257ms左右,其中电信网络延迟在205ms左右,联通网络延迟在200ms左右,移动网络延迟在388ms左右。

接下来看看全球海内外各地网络稳定性情况,如下所示:

HostKVM荷兰VPS测评 - 全球网络稳定性测试

从测试效果可以看到不管是国内节点还是海外节点网络都是非常稳定,基本没有丢包的情况,只是极个别节点偶尔丢1次包,总体很稳定。

下面我们看看全国三网去程路由线路情况。

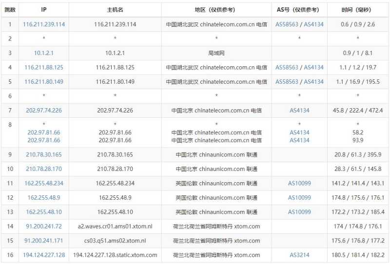
电信去程路由:

HostKVM荷兰VPS测评 - 电信去程路由

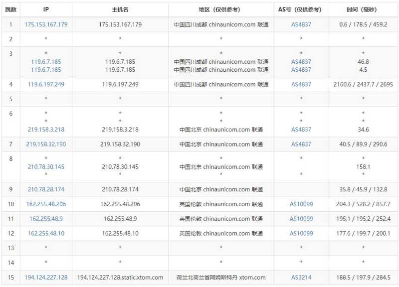
联通去程路由:

HostKVM荷兰VPS测评 - 联通去程路由

移动去程路由:

HostKVM荷兰VPS测评 - 移动去程路由

从上面测试结果可以看到,三网去程路由从国内网口出去,经过伦敦节点后,到达阿姆斯特丹机房,线路还是不错的。

接下来我们看看这款荷兰VPS的速度怎么样,如下所示:

HostKVM荷兰VPS测评 - 速度测试

从测试情况来看,我本地下载速度和上传速度都跑满了50Mbps以上,对荷兰VPS来说是相当不错了。

下面我们看看这款荷兰VPS的价格套餐,如下所示:

参数项 套餐1 套餐2 套餐3 套餐4
内存 2GB 4GB 4GB 8GB
CPU核数 1 2 2 4
存储空间 40G 40G 60G 100G
带宽 100Mbps 100Mbps 100Mbps 100Mbps
流量 500GB 1000GB 1500GB 3000GB
价格 7美元/月 8美元/月 15美元/月 35美元/月
购买链接 立即购买 立即购买 立即购买 立即购买

从上面的价格套餐来看这款荷兰VPS还是比较便宜的,而且配置很高,性价比不错,还是支持Linux和Windows操作系统,能够满足多种用户需求。

以上就是关于HostKVM荷兰VPS的相关测评介绍,从网络和价格方面来说都是相当不错的,有需要的用户可以参考选购。