德国VPS哪里有好的?LOCVPS低至37元/月的怎么样,值得入手吗?

文章导读
LOCVPS是专业经营VPS云服务器的主机商,拥有欧美亚多个机房可以选择,价格非常的便宜,并且网络稳定。这里我们将测评下LOCVPS的德国VPS,看看网络效果怎么样。
A A

LOCVPS是专业经营VPS云服务器的主机商,拥有欧美亚多个机房可以选择,价格非常的便宜,并且网络稳定。这里我们将测评下LOCVPS的德国VPS,看看网络效果怎么样。

LOCVPS的德国VPS机房位于法兰克福,最低配置1核、1GB内存、30GB存储、4Mbps带宽、400GB流量,价格是37元/月,支持支付宝付款。下面我们就具体测评下这款德国VPS的网络状况。

LOCVPS:德国VPS测评 - 低至37元/月

先看看本地Ping平均延迟效果,如下所示:

LOCVPS德国VPS测评 - 本地Ping平均延迟测试

本地Ping平均延迟在192ms左右,网络还是很稳定,基本都没有丢包的情况。

下面我们看看全国三网Ping平均延迟效果,如下所示:

LOCVPS德国VPS测评 - 三网Ping平均延迟测试

全国三网Ping平均延迟在204ms左右,其中电信网络延迟在192ms左右,联通网络延迟在188ms左右,移动网络延迟在232ms左右。

接下来我们看看LOCVPS这款德国VPS的全球网络稳定性情况,如下所示:

LOCVPS德国VPS测评 - 全球各地网络稳定性测试

从测试结果来看,不管是国内节点还是海外节点网络都是很稳定的,基本都没有丢包的情况。

下面我们看看三网去程路由线路情况。

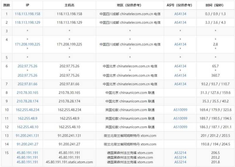
电信去程路由:

LOCVPS德国VPS测评 - 电信去程路由

电信去程路由是从北京网口出去,经过伦敦、阿姆斯特丹节点后到达法兰克福机房。

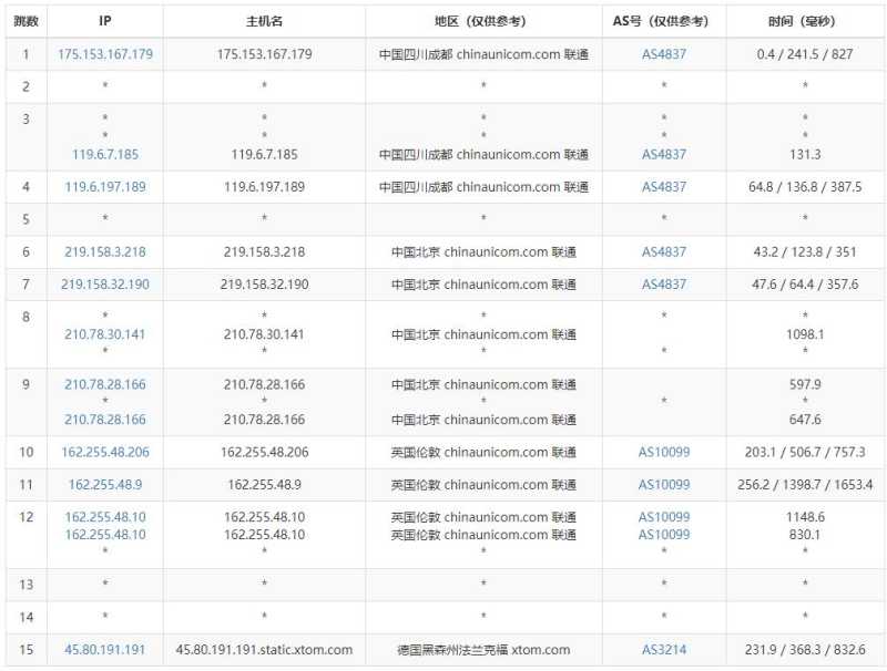
联通去程路由:

LOCVPS德国VPS测评 - 联通去程路由

联通去程路由是从北京网口出去,经过伦敦节点后到达法兰克福机房。

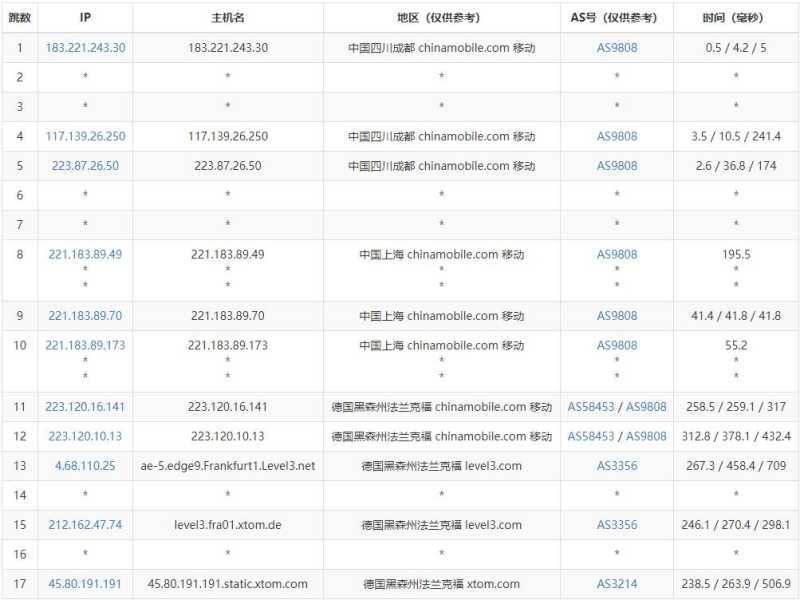
移动去程路由:

LOCVPS德国VPS测评 - 移动去程路由

移动去程路由是从上海网口出去,然后直连法兰克福机房。

下面我们再看看LOCVPS这款德国VPS的价格套餐,如下所示:

LOCVPS德国VPS测评 - 速度测试

从结果可以看到下载速度在17Mbps左右,上传速度在78Mbps左右,整体来说还是不错的。

下面我们看看这款德国VPS的价格套餐,如下所示:

参数项 套餐1 套餐2 套餐3
内存 1GB 4GB 8GB
CPU核数 1 2 4
存储空间 30G 50G 100G
带宽 4Mbps 7Mbps 12Mbps
流量 400GB 1000GB 3000GB
价格 37元/月 65元/月 240元/月
购买链接 立即购买 立即购买 立即购买

从上面价格套餐来看LOCVPS的这款德国VPS还是非常便宜的,支持支付宝付款,购买也非常的方便。

以上就是关于LOCVPS的德国VPS测评介绍。从网络方面来说这款德国VPS是非常的稳定的,不管是在国内还是海外基本都没有丢包的情况;从价格方面来看这款德国VPS性价比很高,价格便宜,有需要的用户可以参考选购。