HostKVM日本云服务器有哪些推荐的?BPG优化线路怎么样,值得入手吗?

文章导读
HostKVM是专业经营云服务器的主机商,有亚洲和美国多个机房可以选择,特点是网络稳定,但是价格便宜,性价比高,在国内有不少用户。这里我们将测评下HostKVM的日本云服务器,看看网络怎么样。
A A

HostKVM是专业经营云服务器的主机商,有亚洲和美国多个机房可以选择,特点是网络稳定,但是价格便宜,性价比高,在国内有不少用户。这里我们将测评下HostKVM的日本云服务器,看看网络怎么样。

HostKVM的日本云服务器机房位于东京,提供BGP优化线路,拥有100Mbps带宽,最低配置1核、2GB内存、40GB存储、500GB流量,价格是7美元/月,支持Linux和Windows操作系统。下面我们就测评下这款日本云服务器的网络状况。

HostKVM:日本云服务器推荐 - BPG优化线路

先看看本地Ping平均延迟效果,如下所示:

HostKVM日本云服务器测评 - 本地Ping平均延迟测试

我本地Ping的平均延迟在96ms左右,这个延迟对于日本云服务器来说是比较正常的,网络也很稳定,基本都没有丢包的情况。

下面我们看看全国三网Ping平均延迟效果,如下所示:

HostKVM日本云服务器测评 - 三网Ping平均延迟测试

全国三网Ping平均延迟在100ms左右,其中电信网络延迟在71ms左右,联通网络延迟在130ms左右,移动网络延迟在100ms左右。

接下来我们看看全球海内外国内网络稳定性情况,如下所示:

HostKVM日本云服务器测评 - 全球网络稳定性测试

从测试情况可以看到不管是国内节点还是海外节点网络都是非常的稳定,基本都没有丢包的情况。

接下来看看三网去程路由线路情况。

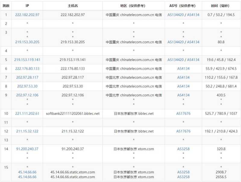
电信去程路由:

HostKVM日本云服务器测评 - 电信去程路由

电信去程路由是从北京网口出去,然后直连东京机房。

联通去程路由:

HostKVM日本云服务器测评 - 联通去程路由

联通去程路由是从上海网口出去,然后直连东京机房。

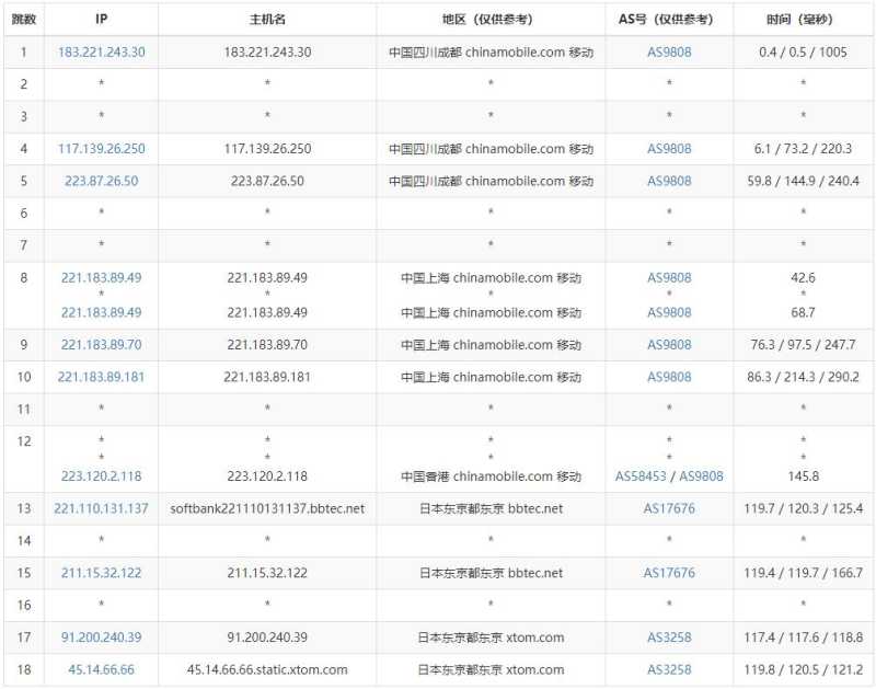
移动去程路由:

HostKVM日本云服务器测评 - 移动去程路由

移动去程路由是从上海网口出去,经过香港节点后到达东京机房。

下面我们看看HostKVM的这款日本云服务器的速度怎么样,如下所示:

HostKVM日本云服务器测评 - 速度测试

从测试结果可以看到下载速度在48Mbps左右,上传速度只85Mbps左右,表现还是相当不错的。

下面我们看看HostKVM的这款日本云服务器的价格套餐,如下所示:

参数项 套餐1 套餐2 套餐3 套餐4
内存 2GB 4GB 4GB 8GB
CPU核数 1 2 2 4
存储空间 40GB 40G 60G 100G
带宽 100Mbps 100Mbps 100Mbps 100Mbps
流量 500GB/月 1000GB/月 1500GB/月 2000GB/月
价格 7美元/月 8美元/月 15美元/月 35美元/月
购买链接 立即购买 立即购买 立即购买 立即购买

从上面的价格套餐来看这款日本云服务器价格还是相当便宜的,可以使用支付宝付款,购买也非常的方便。只是需要注意的是需要4GB以上的套餐才能安装Windows操作系统。

以上就是关于HostKVM的日本云服务器测评介绍,从网络方面来说这款日本云服务器还是相当不错的,而且价格便宜,支持Linux和Windows操作系统,能够满足多种用户需求,有需要日本云服务器的用户可以参考选购。