HostKVM韩国VPS有哪些推荐的?Linux和Windows支持、网络稳定的怎么样,值得入手吗?

文章导读
HostKVM是一家专业经营VPS的主机商,有亚洲和美国多个机房可以选择,特点是网络稳定,并且价格很便宜,受到广大用户的好评,我们也多次进行了推荐。这里我们将测评下HostKVM的韩国VPS,看看网络效果怎么样。
A A

HostKVM是一家专业经营VPS的主机商,有亚洲和美国多个机房可以选择,特点是网络稳定,并且价格很便宜,受到广大用户的好评,我们也多次进行了推荐。这里我们将测评下HostKVM的韩国VPS,看看网络效果怎么样。

HostKVM的韩国VPS机房位于首尔,提供了BGP优化线路,支持Linux和Windows操作系统,提供30Mbps带宽,最低配置1核、2GB内存、40GB存储、500GB流量,价格是8.5美元/月,支持支付宝付款,购买方便。需要注意的是4GB以上内存才支持安装Windows操作系统。下面我们就详细测试下这款韩国VPS的网络状况。

HostKVM:韩国VPS推荐 - Linux/Windows支持 - 网络稳定

先看看本地Ping平均延迟效果,如下所示:

HostKVM韩国VPS测评 - 本地Ping平均延迟测试

本地Ping平均延迟在100ms左右,这个延迟对于韩国VPS来说还是比较正常的,网络也很稳定,基本都没有丢包的情况。

下面我们看看全国三网Ping平均延迟效果,如下所示:

HostKVM韩国VPS测评 - 全国三网Ping平均延迟测试

三网Ping平均延迟在62ms左右,其中电信网络延迟在61ms左右,联通网络延迟在63ms左右,移动网络延迟在62ms左右,三网延迟都比我本地要低,表现还是相当不错的。

下面我们看看全球海内外节点网络稳定性情况,如下所示:

HostKVM韩国VPS测评 - 全球网络稳定性测试

从上面的测试效果来看,不管是国内节点还是海外节点网络稳定性都是相当不错的, 基本都没有丢包,只是偶尔有丢包的情况。

下面我们看看全国三网去程路由线路情况。

电信去程路由:

HostKVM韩国VPS测评 - 电信去程路由

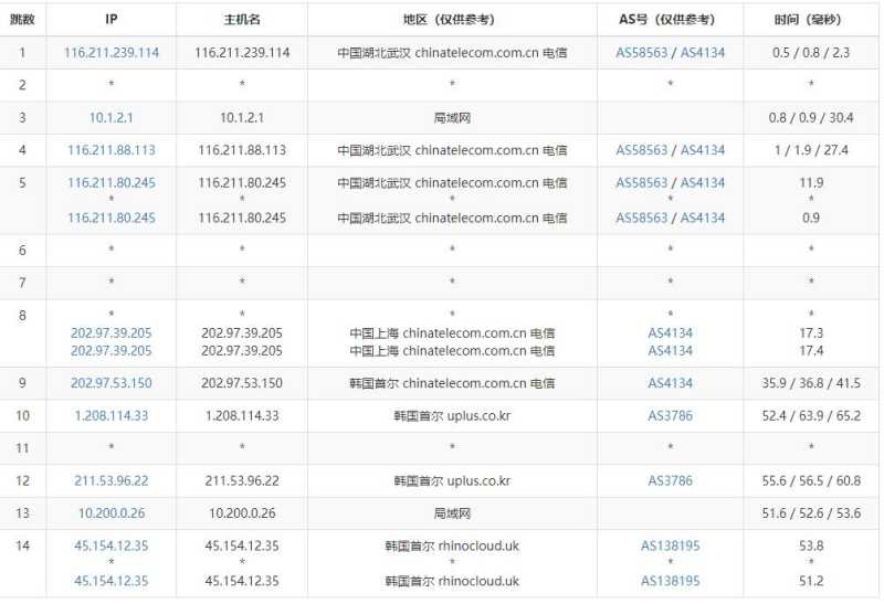
电信去程路由是从上海网口出去,然后直连首尔机房。

联通去程路由:

HostKVM韩国VPS测评 - 联通去程路由

联通去程路由是从北京网口出去,经过香港、东京节点后到达首尔机房。

移动去程路由:

HostKVM韩国VPS测评 - 移动去程路由

移动去程路由是从上海网口出去,然后直连首尔机房。

接下来我们看看HostKVM的这款韩国VPS的价格套餐,如下所示:

参数项 套餐1 套餐2 套餐3 套餐4
内存 2GB 4GB 4GB 8GB
CPU核数 1 2 2 4
存储空间 40GB 40G 60G 100G
带宽 30Mbps 30Mbps 30Mbps 30Mbps
流量 500GB/月 1000GB/月 1500GB/月 2000GB/月
价格 8.5美元/月 9.5美元/月 15美元/月 35美元/月
购买链接 立即购买 立即购买 立即购买 立即购买

从上面的价格套餐可以看到HostKVM的这款韩国VPS价格还是比较便宜的,而且配置不错,拥有超高的性价比,可以使用支付宝付款,购买也是非常方便的。

需要购买的用户可以通过HostKVM官网链接进入首页,然后选择“VPS主机”下的“韩国BGP”链接产品,如所示:

HostKVM韩国VPS - 购买教程

跳转到韩国VPS的购买页面后,就可以根据自己的需要选择合适的套餐购买就可以了。

以上就是关于HostKVM的韩国VPS相关测评介绍,从网络方面来说这款韩国VPS可以说是相当不错的,全球国内外访问都稳定,并且性价比很高,支持安装Linux和Windows操作系统,能够满足多种用户需求,有需要韩国VPS的用户可以参考选购。