ToToTel香港VPS怎么样?1Gbps带宽的测评如何,值得入手吗?

文章导读
ToToTel是一家专门经营云服务器的主机商,有香港、美国、新加坡、日本多个机房可以选择。这里我们将测评下他们家的香港VPS,看看网络效果怎么样。
A A

ToToTel是一家专门经营云服务器的主机商,有香港、美国、新加坡、日本多个机房可以选择。这里我们将测评下他们家的香港VPS,看看网络效果怎么样。

ToToTel的香港VPS有CMI和BGP两种类型,其中PVE类型我们已经测评过了,这里我们测评的是是他们家的CMI类型。这款香港VPS最低配置1核、768MB内存、10GB存储、1TB流量,价格是13美元/月。下面具体测评下这款香港VPS的网络状况。

ToToTel:香港VPS测评 - 1Gbps带宽

先看看本地Ping平均延迟效果,如下所示:

ToToTel香港VPS测评 - 本地Ping平均延迟测试

我本地Ping平均延迟在75ms左右,网络还是比较稳定,丢包情况很少。

我们再测试下电信、联通、移动三网Ping平均延迟效果,如下所示:

ToToTel香港VPS测评 - 全国三网Ping平均延迟测试

三网Ping的平均延迟在53ms左右,其中电信网络延迟在52ms左右,联通网络延迟在56ms左右,移动网络延迟在52ms左右。

我们再看看全国各省份电信、联通、移动网络的稳定性情况,如下所示:

ToToTel香港VPS测评 - 全国网络稳定性测试

从上面的测试效果来看,全国各个省份网络稳定性都是相当不错的,基本都没有丢包的情况。

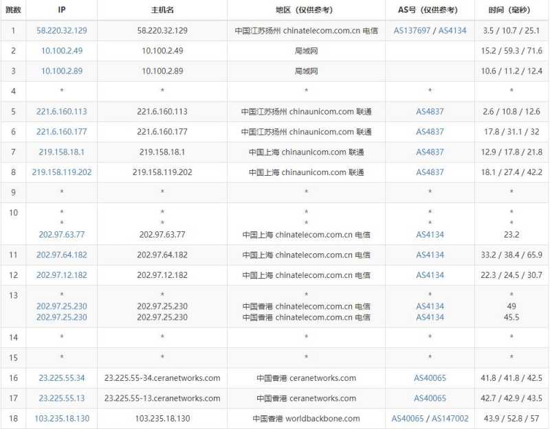
下面我们测试下电信、联通、移动三网去程路由线路情况。

电信去程路由:

ToToTel香港VPS测评 - 电信去程路由

联通去程路由:

ToToTel香港VPS测评 - 联通去程路由

移动去程路由:

ToToTel香港VPS测评 - 移动去程路由

可以看到三网都是从国内网口直连香港机房的,线路还是不错的。

我们再看看下载和上传速度怎么样,如下所示:

ToToTel香港VPS测评 - 下载速度

我本地电信网络下载速度是61Mbps左右,而上传速度是69Mbps左右,这个速度对于香港VPS来说还是相当不错了。

下面是这款香港VPS的价格套餐,如下所示:

参数项 套餐1 套餐2 套餐3 套餐4
内存 768MB 1GB 2GB 4GB
CPU核数 1 2 4 8
存储空间 10G 20G 40G 80G
流量 1T 2T 3T 4T
价格 13美元/月 48美元/月 83美元/月 143美元/月
购买链接 立即购买 立即购买 立即购买 立即购买

从上面的价格套餐来看,这款香港VPS确实不算便宜,但是考虑到其速度和稳定性还是不错的,对于高需求的用户来说还是可以选择的。

需要购买的用户可以通过ToToTel官网进入后,选择“PVE-HK-CMI”下的产品,如下所示:

ToToTel香港VPS购买教程

然后点击“Order Now”按钮购买,根据需要选择适合自己的配置就可以了。

以上就是关于ToToTel的CMI类型香港VPS的测评介绍。从网络方面来说,这款香港VPS网络状况是相当不错的,速度也可以,不过价格不算便宜,看个人需求了。