JustVPS美国VPS洛杉矶机房怎么样,2.2美元/月值得入手吗?

文章导读
JustVPS是专业经营VPS云服务器的主机商,有多个机房可以选择,并且可以一键切换机房,价格还非常的便宜。这里我们将测评下JustVPS的洛杉矶机房美国VPS,看看网络效果怎么样。
A A

JustVPS是专业经营VPS云服务器的主机商,有多个机房可以选择,并且可以一键切换机房,价格还非常的便宜。这里我们将测评下JustVPS的洛杉矶机房美国VPS,看看网络效果怎么样。

JustVPS的美国VPS最低配置1核、1GB内存、20GB存储、300Mbps带宽、无限流量,价格是2.2美元/月,支持银联、PayPal和信用卡付款。下面我们就测评下这款美国VPS的网络状况。

JustVPS美国VPS测评 - 洛杉矶机房 - 2.2美元/月

先看看本地Ping平均延迟测试情况,如下所示:

JustVPS美国VPS测评 - 本地Ping平均延迟测试

我本地Ping平均延迟在186ms左右,这个延迟对于美国VPS来说还是不错的,而且网络还很稳定,基本都没有丢包的情况。

下面我们看看全国三网Ping平均延迟测试,如下所示:

JustVPS美国VPS测评 - 三网去程路由

全国三网Ping平均延迟在198ms左右,其中电信网络延迟在178ms左右,联通网络延迟在198ms左右,移动网络延迟在223ms左右。

下面我们看看全球各地网络稳定性情况,如下所示:

JustVPS美国VPS测评 - 全球网络稳定性测试

可以看到全球各地网络稳定性都还是不错的,不管是国内节点还是海外节点网络丢包都很少,只有少数几个节点偶尔有丢包的情况。

接下来我们看看全国三网去程路由线路情况。

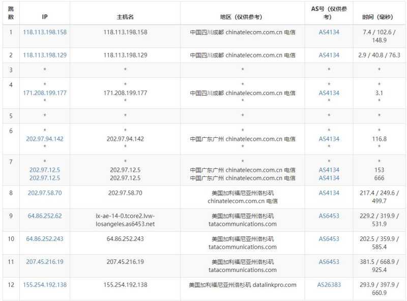
电信去程路由:

JustVPS美国VPS测评 - 电信去程路由

电信去程路由是从广州网口出去,人挪活直连洛杉矶机房。

联通去程路由:

JustVPS美国VPS测评 - 联通去程路由

联通去程路由是从北京网口出去,通过香港、日本节点后到达洛杉矶机房。

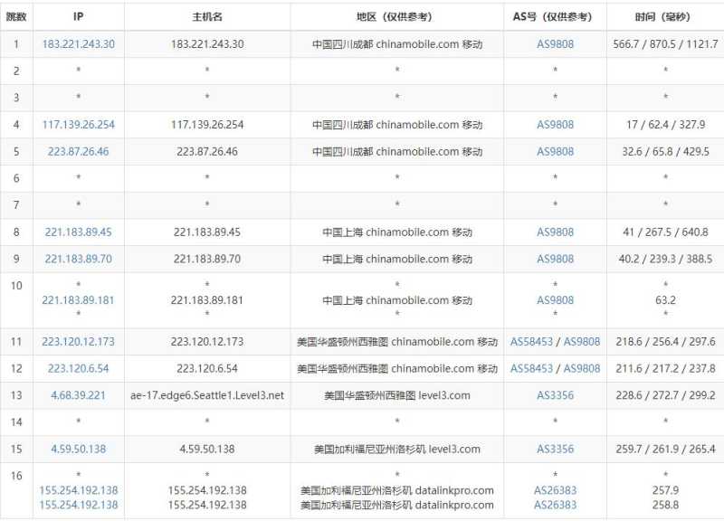
移动去程路由:

JustVPS美国VPS测评 - 移动去程路由

移动去程路由是从上海网口出去,经过西雅图节点后到达洛杉矶机房。

下面介绍下JustVPS这款美国VPS的价格套餐,如下所示:

参数项 套餐1 套餐2 套餐3
内存 1GB 4GB 16GB
CPU核数 1 4 12
存储空间 20GB 50GB 500GB
带宽 300Mbps 500Mbps 1000Mbps
流量 无限 无限 无限
价格 2.2 美元/月 6 美元/月 24.5 美元/月
购买链接 立即购买 立即购买 立即购买

可以看到价格是相当便宜的,有300Mbps、500Mbps、1000Mbps三种带宽可以选择,如果你需要购买美国VPS,那么就选择“Los Angeles (Tier-3) ”机房,如下所示:

JustVPS美国VPS购买节点选择

然后就根据自己的需要选择适合的套餐就可以了。

以上就是关于JustVPS的美国VPS测评介绍,从网络方面来说这款美国VPS网络还是不错的,大陆地区访问比较稳定;从价格方面来说这款美国VPS还是很便宜的。总体来说这款美国VPS性价比还是相当不错的,有需要可以参考选购。