JustHost.asia国外VPS有哪些推荐的?低至8元/月免费换IP怎么样,值得入手吗?

文章导读
JustHost.asia是一家专门经营VPS云服务器的主机商,由一家俄罗斯公司运营,特点是价格非常的便宜,并且拥有全球20多个机房可以选择。我们多次进行过测评推荐,现在他们家又推出了超低套餐这里就给大家介绍下。
A A

JustHost.asia是一家专门经营VPS云服务器的主机商,由一家俄罗斯公司运营,特点是价格非常的便宜,并且拥有全球20多个机房可以选择。我们多次进行过测评推荐,现在他们家又推出了超低套餐这里就给大家介绍下。

JustHost.asia推出的新套餐每月仅需1.16美元(大概8元/月),可以提供512 MB内存、1核、5GB硬盘、10 Mbps带宽(无限流量)、一个IPv4和IPv6。购买后可以在24个数据中心无限次重新安装,可以选择其中任何一个数据中心。JustHost.asia支持的数据中心有香港、新加坡、美国(洛杉矶、达拉斯、亚特兰大)、俄罗斯(莫斯科、圣彼得堡、新西伯利亚、喀山)、加拿大、芬兰、法国、德国、意大利、拉脱维亚、荷兰、波兰、西班牙、土耳其、阿拉伯联合酋长国、乌克兰、英国。JustHost.asia支持多种支付方式,如信用卡、PayPal、支付宝、银联,不管你是哪里的用户购买都是非常方便的。

JustHost.asia 国外VPS推荐 - 低至8元/月

这里说下购买这款8元/月套餐VPS的方法。

通过JustHost.asia官网链接进入后,选择“VPS”菜单下的“所有计划”菜单,如下所示:

JustHost.asia VPS购买教程 - 购买入口

页面跳转后,向下滚动页面,选择“VPS Promo”套餐,如下所示:

JustHost.asia VPS购买教程 - 套餐选择

后面根据需要选择合适的机房、操作系统等配置就可以了,都有引导说明,购买流程还是比较简单的。


JustHost.asia支持的数据中心很多,评价不错的是他们家的莫斯科节点,所以这里我们就给大家测评下他们家的的俄罗斯VPS的网络状况,看看大陆地区网络访问速度怎么样。

先看看本地Ping评价延迟效果,如下所示:

JustHost.asia俄罗斯VPS测评 - 本地Ping平均延迟效果

可以看到我本地Ping平均延迟在90~100ms左右波动,这个延迟对于俄罗斯VPS来说还是相当不错的了,而且网络很稳定,基本都没有丢包的情况。

下面我们看看全国三网Ping平均延迟效果,如下所示:

JustHost.asia俄罗斯VPS测评 - 全国三网Ping平均延迟测试

可以看到全国三网Ping平均延迟在186ms左右,其中电信网络延迟在122ms左右,联通网络延迟在180ms左右,移动网络延迟在260ms左右。

下面我们看看全球各地网络稳定性情况,如下所示:

JustHost.asia俄罗斯VPS测评 - 全球网络稳定性测试

可以看到全球地区稳定性来说整体还是不错的,海外地区基本都没有丢包的情况,而国内节点有部分网络偶尔有丢包的情况,这对于俄罗斯VPS来说还是不错的了。

下面我们看看JustHost.asia这款俄罗斯VPS的三网去程路由线路情况。

电信去程路由:

JustHost.asia俄罗斯VPS测评 - 电信去程路由

电信去程路由是从北京网口出去,然后直连莫斯科机房,并且走的是59.43的CN2优化线路。

联通去程路由:

JustHost.asia俄罗斯VPS测评 - 联通去程路由

联通网络是从北京网口出去,经过伯力节点后到达莫斯科机房,走的是联通的AS4837线路。

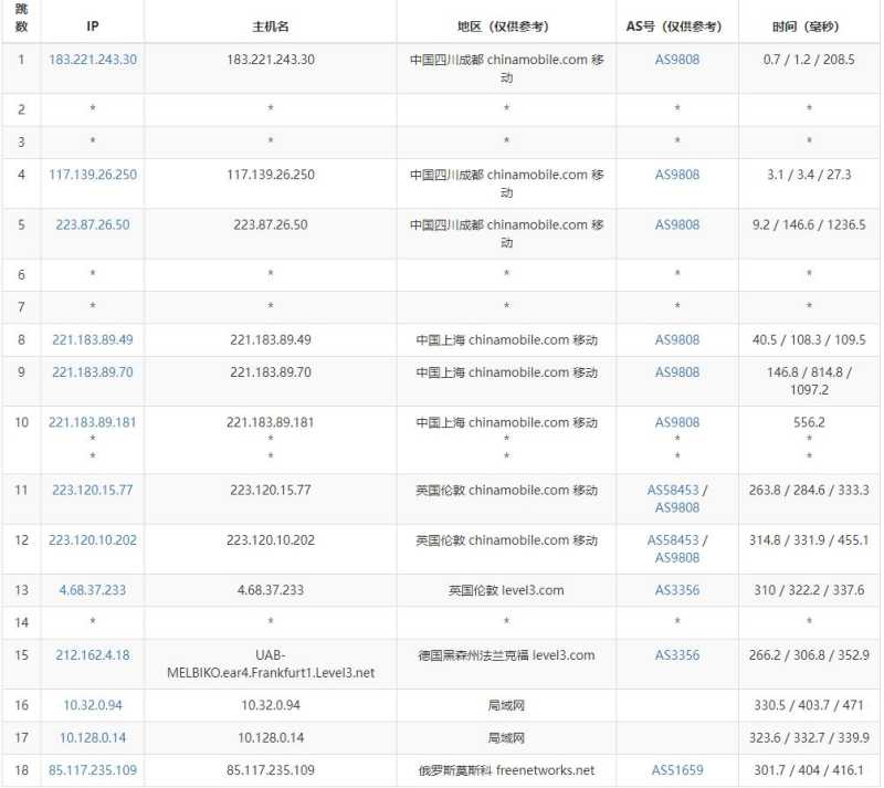
移动去程路由:

JustHost.asia俄罗斯VPS测评 - 移动去程路由

移动网络去程路由是从上海网口出去,经过英国、德国节点后到达莫斯科机房。

整体来说三网线路都还是不错的,特别是电信网络直连莫斯科机房,还有CN2线路。