JustVPS俄罗斯VPS怎么样,莫斯科机房测评值得入手吗?

文章导读
JustVPS是专门经营云服务器的主机商,由一家阿联酋公司运营,提供全球24个机房可以选择,后台支持一键切换IP,价格比较便宜。这里我们将测评下JustVPS的俄罗斯VPS,有需要俄罗斯VPS的用户可以参考下。
A A

JustVPS是专门经营云服务器的主机商,由一家阿联酋公司运营,提供全球24个机房可以选择,后台支持一键切换IP,价格比较便宜。这里我们将测评下JustVPS的俄罗斯VPS,有需要俄罗斯VPS的用户可以参考下。

JustVPS的俄罗斯VPS有多个机房,而这里我们测评的是JustVPS的莫斯科机房,提供300~1000Mbps带宽可以选择,最低配置1核、1GB内存、300Mbps带宽,价格是2.2美元/月。下面具体测评下这款俄罗斯VPS的网络状况。

JustVPS:俄罗斯VPS测评 - 莫斯科机房

先看看本地Ping平均延迟效果,如下所示:

JustVPS俄罗斯VPS测评 - 本地Ping平均延迟效果

我本地Ping平均延迟在211ms左右,这个延迟对于俄罗斯VPS来说还是不错的,不过这是我本地的网络。可以看到网络还是很稳定的,基本都没有丢包的情况。

下面我们看看全国三网Ping平均延迟效果,如下所示:

JustVPS俄罗斯VPS测评 - 全国三网Ping平均延迟

全国三网Ping平均延迟在292ms左右,其中电信网络延迟在241ms左右,联通网络延迟在294ms左右,移动网络延迟在358ms左右。

接下来我们看看电信、联通、移动三网去程路由线路情况。

电信去程路由:

JustVPS俄罗斯VPS测评 - 电信去程路由

电信去程路由是从广州网口出去,经过英国、法国、德国等欧洲节点后到达莫斯科机房。

联通去程路由:

JustVPS俄罗斯VPS测评 - 联通去程路由

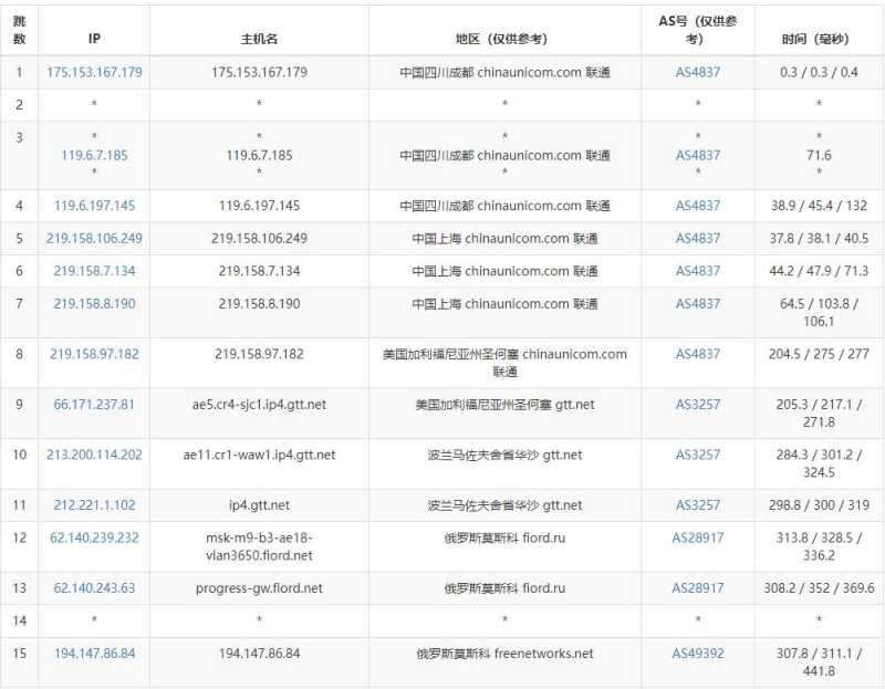
联通去程路由是从上海网口出去,经过美国、波兰节点后到达莫斯科机房。

移动去程路由:

JustVPS俄罗斯VPS测评 - 移动去程路由

移动去程路由是从广州网口出去,经过英国、荷兰、德国、丹麦、瑞典等节点后到达莫斯科机房,移动线路经过的节点稍微有点多。

最后我们看看JustVPS这款俄罗斯VPS的本地下载速度怎么样,如下所示:

JustVPS俄罗斯VPS测评 - 速度

可以看到我本地下载速度在5.1MB/秒左右,这个速度对于俄罗斯VPS来说还是相当不错的了。

下面我们看看这款俄罗斯VPS的价格套餐,如下所示:

参数项 套餐1 套餐2 套餐3
内存 1GB 4GB 16GB
CPU核数 1 4 12
存储空间 20GB 50GB 500GB
带宽 300Mbps 500Mbps 1000Mbps
流量 无限 无限 无限
价格 2.2 美元/月 6 美元/月 24.5 美元/月
购买链接 立即购买 立即购买 立即购买

从上面价格套餐来看,确实是非常的便宜的,配合也可以,拥有不错的性价比。

需要购买的用户,可以通过JustVPS官网进入首页,选择合适的套餐后,在机房选择项中选择“DataLine (Tier-3) (Russia, Moscow)”节点,如下所示:

JustVPS俄罗斯VPS购买教程

其他配置按照需要填写就可以了,一步步按照流程操作还是比较简单。

以上就是关于JustVPS的莫斯科节点俄罗斯VPS的相关测评介绍,整体来说这款俄罗斯VPS网络还是可以的,价格也不错,拥有高性价比,对于需要俄罗斯VPS的用户来说值得推荐。之前我们还测评过他们家的圣彼得堡机房,各方面也是相当不错的,可以参考JustVPS圣彼得堡俄罗斯VPS。