ZoroCloud台湾服务器怎么样?CN2线路无限流量的测评介绍在哪里看?

文章导读
ZoroCloud是一家专门经营海外机房的主机商,由国人运营,提供香港、台湾、日本、韩国、美国等多个机房。这里我们将测评下他们家的台湾服务器,有需要的可以看看。
A A

ZoroCloud是一家专门经营海外机房的主机商,由国人运营,提供香港、台湾、日本、韩国、美国等多个机房。这里我们将测评下他们家的台湾服务器,有需要的可以看看。

ZoroCloud的台湾服务器机房位于台北,提供20Mbps带宽、无限流量,拥有CN2线路,最低配置E5-2660v2、64G、2*600GB存储、3个IP,价格是1880元/月。下面我们就测评下这款台湾服务器的网络状况。

ZoroCloud:台湾服务器怎么样测评介绍 - CN2线路无限流量

先说结论:ZoroCloud的台湾服务器特点是电信和联通网络访问不错,提供了CN2线路的无限流量,但是IP不是原生的,移动网络访问效果不是很好。如果你需要原生IP可以选择智贸云台湾VPS,这个是原生IP的云服务器。

先看看本地Ping平均延迟效果,如下所示:

ZoroCloud台湾服务器测评 - 本地Ping平均延迟效果

我本地电信网络Ping平均延迟在65ms左右,网络还是比较稳定的,丢包情况比较少。

我们再看看全国三网Ping平均延迟情况,如下所示:

ZoroCloud台湾服务器测评 - 全国三网Ping平均延迟测试

全国三网Ping平均延迟在77ms左右,其中电信网络延迟在59ms左右,联通网络延迟在51ms左右,移动网络延迟在126ms左右。可以看到电信和联通网络延迟还是比较低的,移动网络延迟有点高。

接下来我们看看全球各地网络稳定性情况,如下所示:

ZoroCloud台湾服务器测评 - 全球网络稳定性测试

从上面的测试可以看到海外节点还是比较稳定的,丢包的情况比较少,而国内大部分节点还是比较稳定,就是一定网络丢包稍微高点。

我们来看看电信、联通、移动三网去程路由线路情况。

电信去程路由:

ZoroCloud台湾服务器测评 - 电信去程路由

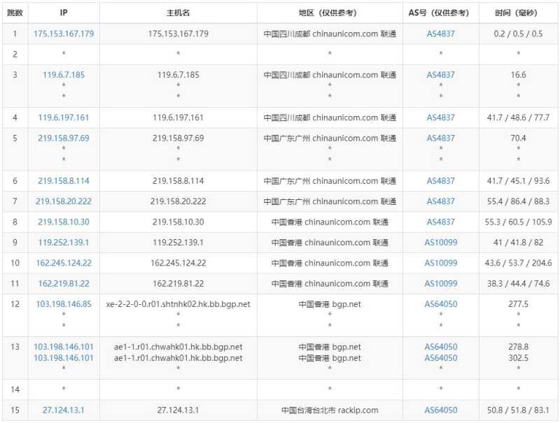
联通去程路由:

ZoroCloud台湾服务器测评 - 联通去程路由

移动去程路由:

ZoroCloud台湾服务器测评 - 移动去程路由

电信和联通去程路由都是从广州网口出去,经过香港节点后到达台北机房;而移动则是从上海网口出去,绕道日本节点后到达台北机房。

所以综合上面的网络测试情况来看,大陆地区访问电信和联通网络还是不错的,而移动网络要稍微差点。

需要购买的用户可以通过ZoroCloud官网链接进入首页,选择【在线购买】菜单下的“港台 CN2GIA 独立服务器”链接,如下所示:

ZoroCloud台湾服务器购买 - 首页入口

跳转到套餐页面后选择“TW-E5”这个才是台湾服务器,其他的香港机房的,如下所示:

ZoroCloud台湾服务器购买 - 套餐选择

最后点击“立即购买”按钮,跳转页面后根据引导页提示选择适合自己的配置就可以了。

以上就是关于ZoroCloud的台湾服务器的相关测评介绍,整体来说这款台湾服务器的电信和联通网络访问还是不错的,移动网络访问稍微就差点,有需要的可以参考选购。